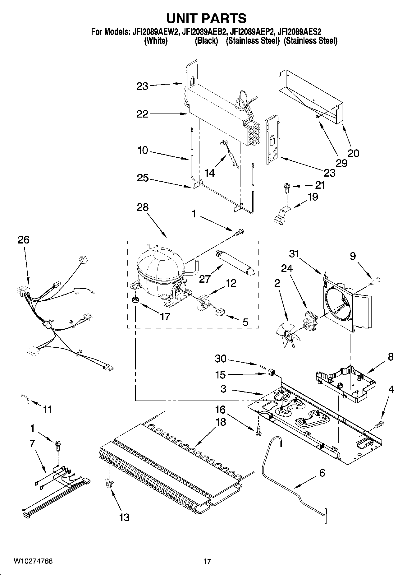
JFI2089AEP2 10 – UNIT PARTSadmin2025-04-26T09:01:39+00:00JFI2089AEP2 10 – UNIT PARTS
Products
| Position | Product |
|---|
| Valve, Access (5/8``) |
| Valve, Access (1/2``) |
| VALVE, ACCESS (3/8``) |
| Valve, Access (5/16``) |
| VALVE, ACCESS (1/4``) |
| MAY 876764 |
| Valve, Access (3/4``) |
| 1 | MAY 12992301 |
| 2 | MAY 12825803 |
| 3 | MAY W10210985 |
| 4 | SCREW (10) |
| 5 | Capacitator (Production) |
| 6 | MAY W10217747 |
| 7 | Harness, Evap Heater |
| 8 | MAY W10215085 |
| 9 | MAY W10216919 |
| 10 | MAY 12729123 |
| 11 | Clip, Retaining |
| 12 | START DEVICE, COMBINATION (START RELAY AND OVERLOAD FOR PRODUCTION COMPRESSOR ONLY) (PRODUCTION) |
| 13 | GROMMET, COND (4) |
| 14 | MAY 12639311SP |
| 15 | Roller (2) |
| 16 | MAY 12992101 |
| 17 | Grommet (4) |
| 18 | MAY W10135026 |
| 19 | MAY 10547003 |
| 20 | MAY 12225403WD |
| 21 | MAY 12990701 |
| 22 | MAY 12959803 |
| 23 | Dam (Right Side) |
| 23 | Dam (Left Side) |
| 24 | MAY 12825101 |
| 25 | W11673433 Whirlpool Clip |
| 26 | MAY W10234027 |
| 27 | Drier |
| 28 | Compressor (Includes items 11,12,17,27,29) |
| 29 | MAY 10623002 |
| 30 | Axle, Roller (2) |
| 31 | SHROUD |