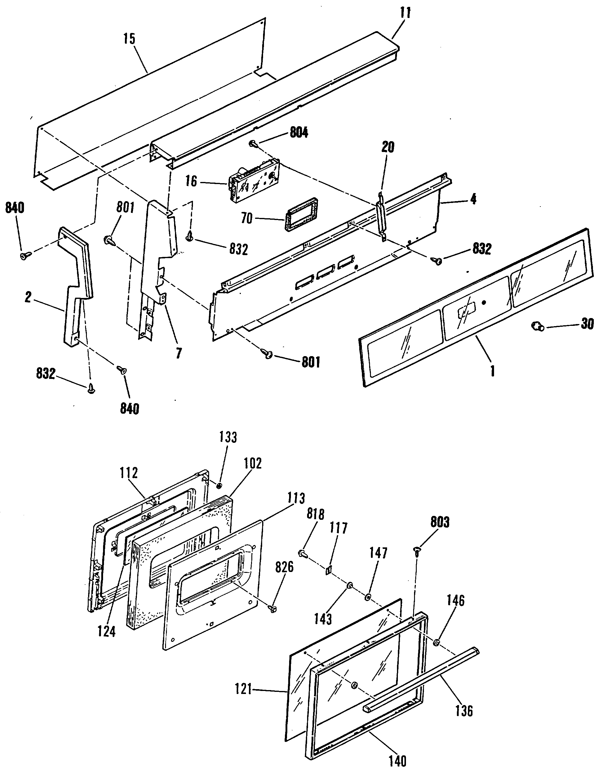
| 1 | BACKGUARD GLASS |
| 2 | END CAP RT |
| 2 | END CAP-LT |
| 4 | LOWER BACKGUARD PANEL |
| 7 | GEN WB02X9181 |
| 7 | GEN WB02X9180 |
| 11 | BACKGUARD PANEL-UPPER |
| 15 | BACKGUARD WIRE COVER |
| 16 | CLOCK/OVEN CONTROL& LENS |
| 20 | CLOCK BRACKET |
| 30 | CLOCK KNOB |
| 70 | FOAM STRIP |
| 102 | UNKNOWN |
| 112 | OV DR LINING |
| 113 | INSULATION RETAINER |
| 117 | OV DR GLASS RETAINER |
| 121 | WB56X1902 GE Oven Outer Glass |
| 124 | OVEN DOOR GLASS-CENTER |
| 133 | FELT WASHER |
| 136 | OV DOOR HANDLE |
| 140 | UNKNOWN |
| 143 | UNKNOWN |
| 146 | DOOR HANDLE SPACER-BLACK |
| 147 | FIBER WASHER |
| 801 | WB1M1 GE Oven Screw |
| 803 | WB1X1149 GE Oven Screw |
| 804 | WB1X681 GE Oven Screw |
| 818 | GEN WB01X1250 |
| 826 | GEN WB01X1167 |
| 832 | WB1X1118 GE Oven Screw 6-32T |
| 840 | SCREW |