JGBC17GEK1 0
Products
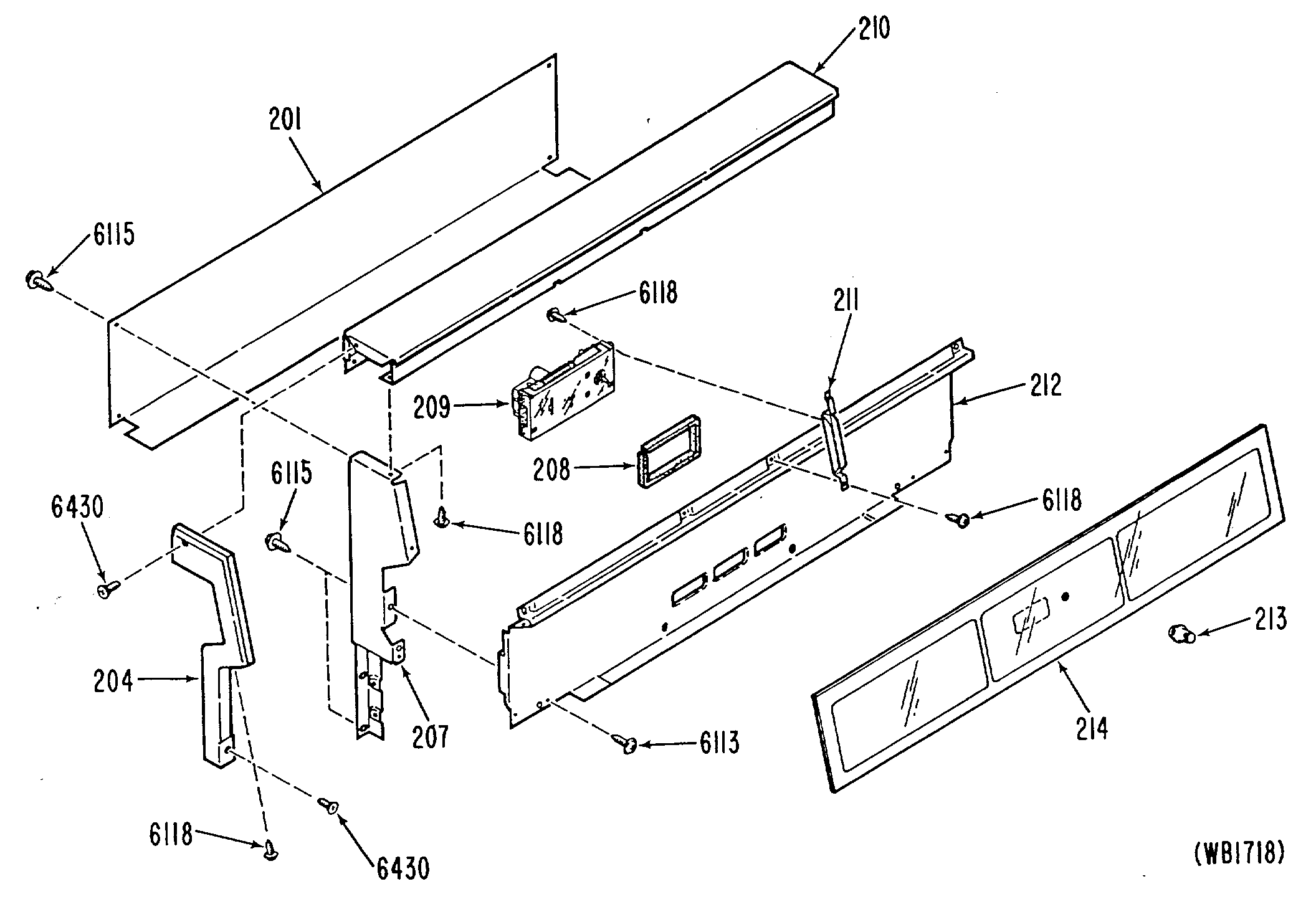
| Position | Product |
|---|---|
| 9 | MT STRIKE |
| 201 | BACKGUARD WIRE COVER |
| 204 | END CAP RT |
| 204 | END CAP-LT |
| 207 | GEN WB02X9181 |
| 207 | GEN WB02X9180 |
| 208 | FOAM STRIP |
| 209 | *LENS-CLOCK |
| 209 | CLOCK/OVEN CONTROL& LENS |
| 210 | BACKGUARD PANEL-UPPER |
| 211 | CLOCK BRACKET |
| 212 | LOWER BACKGUARD PANEL |
| 213 | CLOCK KNOB |
| 214 | BACKGUARD GLASS |
| 6113 | GEN WB01X1113 |
| 6115 | WB1M1 GE Oven Screw |
| 6118 | WB1X1118 GE Oven Screw 6-32T |
| 6430 | SCREW |
| 32767 | GEN 31-0682 |
| 32767 | OWNERS MANUAL |