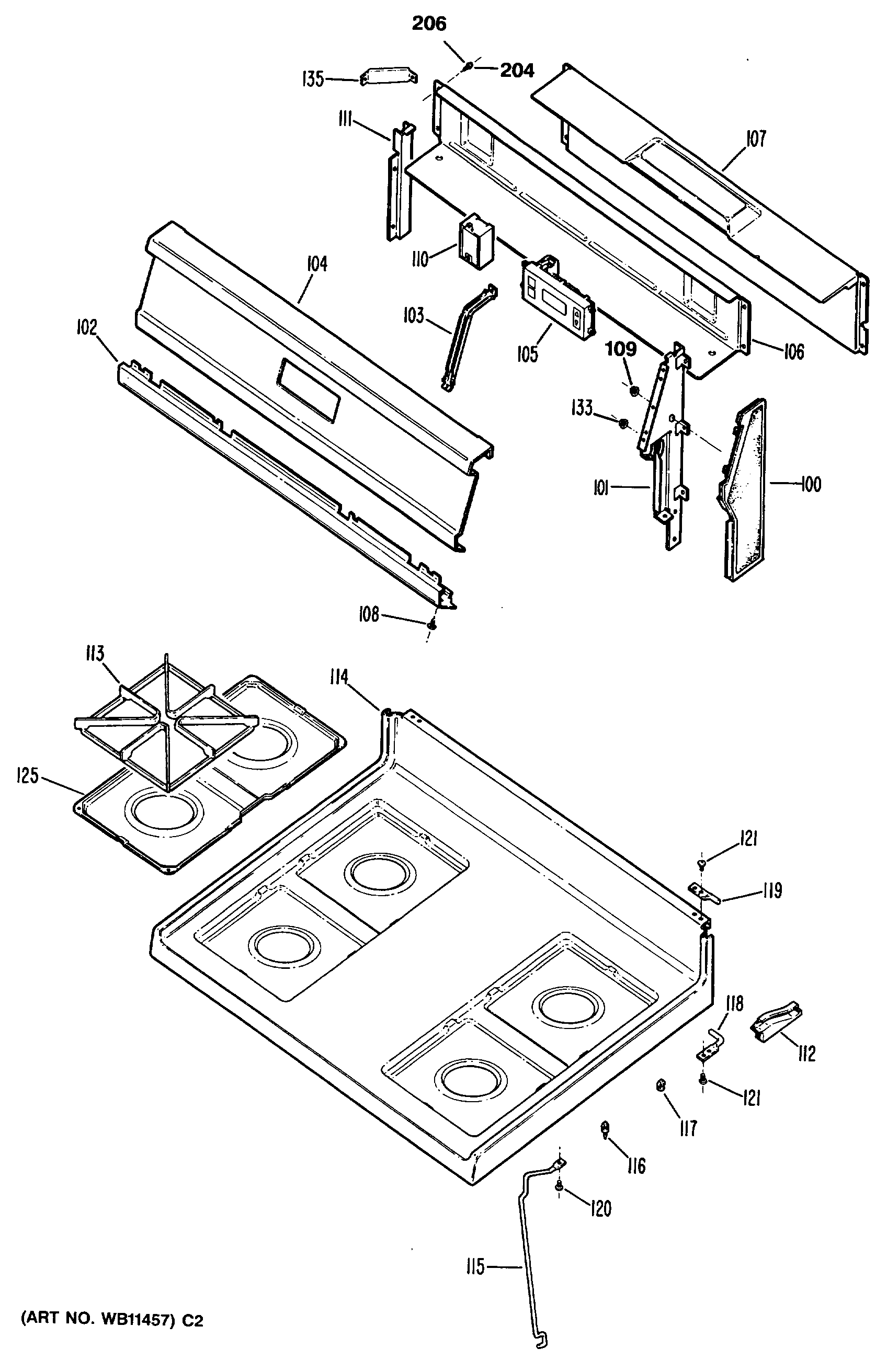
JGBC17GER2 0