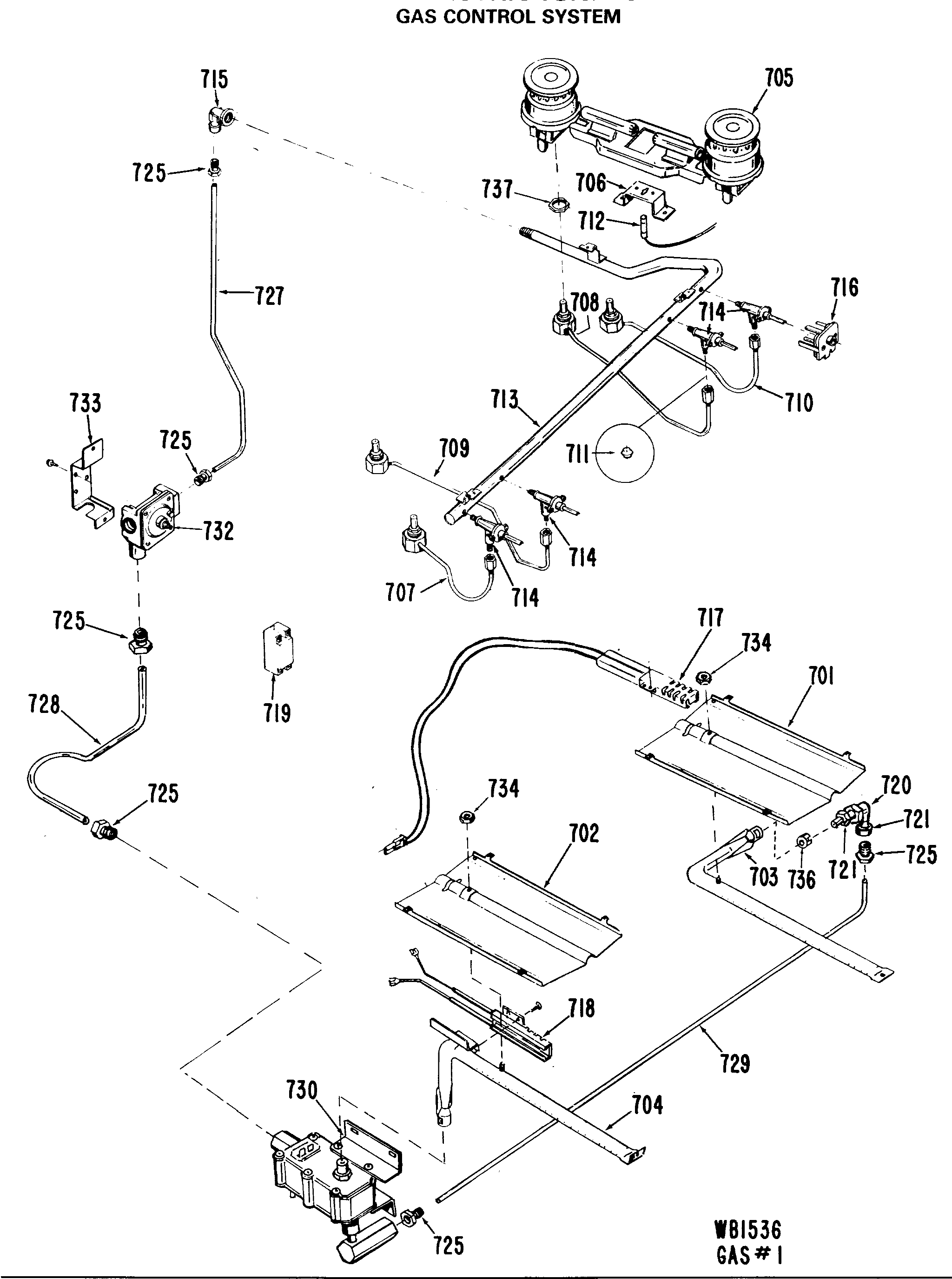
JGBP24GEJ9 GAS CONTROL SYSTEMadmin2025-04-26T08:47:48+00:00JGBP24GEJ9 GAS CONTROL SYSTEM ProductsPositionProduct701GEN WB49X0591702GEN WB49X0592703GEN WB28X0065704GEN WB28X0066705BURNER-TOP (DOUBLE)706*RETAINER-IGNITER706GEN WB02X9365707GEN WB02X4742708GEN WB02X4743709GEN WB02X4744710GEN WB02X4745711GEN WB02X4746712GEN WB02X9366713GEN WB02X4749714GEN WB21X0422715ELBOW715NUT-COMPRESSION716GEN WB24X037971712400035 Whirlpool Oven Flat Style Igniter Kit718IGNITER-OVEN BURNER719GEN WB02X4753720GEN WB02X4755721GEN WB01X0947725GEN WB02X4756727TUBE-ALUMINUM728GEN WB02X4760729GEN WB02X4759730GEN WB01X1029730GEN WB21X0423732GEN WB21X0424733GEN WB02X4772734NUT736GEN WB02X4801737NUT-SPECIAL