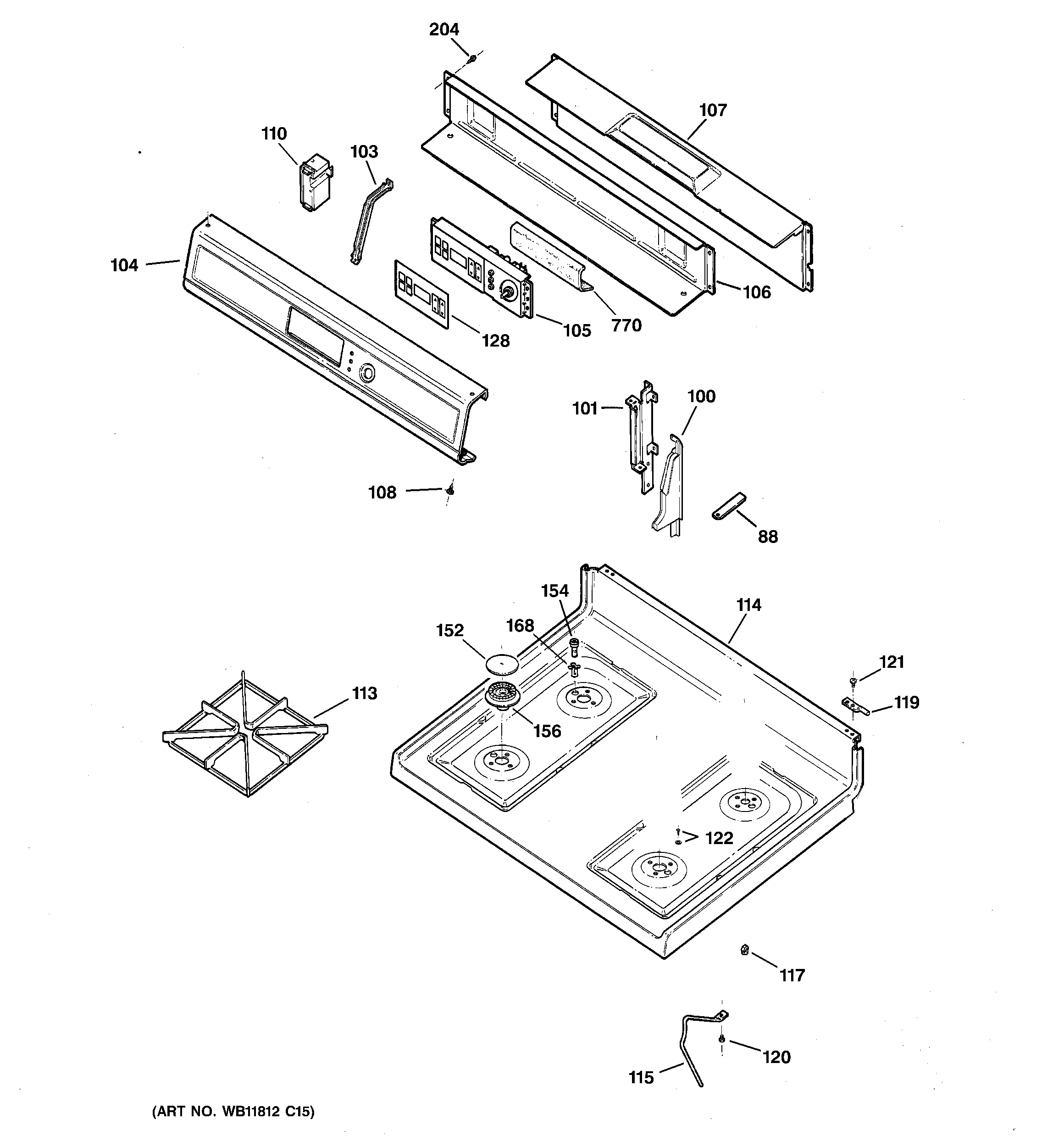
JGBP28TEH1WW CONTROL PANEL & COOKTOPadmin2025-04-26T08:46:54+00:00JGBP28TEH1WW CONTROL PANEL & COOKTOP ProductsPositionProduct88GEN WB02K0062100WB07K10196 GE Oven Left End Support (White)100WB07K10195 GE Oven Right White End Support101WB37K10003 GE Cooktop Right Bracket101WB37K10004 GE Cooktop Left Bracket103WB02K10074 GE Oven Control Bracket104GEN WB36K10344105WB27K10354 GE Oven Gas Control106WB34K10003 GE Upper Back Oven Cover107GEN WB34K10062108WB1X5364 GE Oven Mounting Screw108WB01T10016 GE Oven Screw 8-18 AB Hex108GEN WB01X5874110GEN WB13K0025110WB18K10035 GE Oven Wire Harness113WB31K10045 GE Oven Grate Gray114GEN WB62K10046115WB2K91 GE Oven Top Support117GEN WB02K0017119WB14K5 GE Oven Hinge Pin120WB1K45 GE Oven Screw and Washer Assembly121WB1K5119 GE Oven Screw122GEN WB01K10008128GEN WB27K10130152WB29K10004 GE Oven Gray Burner Cap154GEN WB13K10014154GEN WB13K10003156WB16K10055 GE Oven Burner Base168WB01K10112 GE Range Oven Electrode Clip204WZ4X345D GE Screw Package 12 C92204WB1X536 GE Oven Screw204WB1K5062 GE Oven Screw770WB35K10040 GE Oven Insulation Control