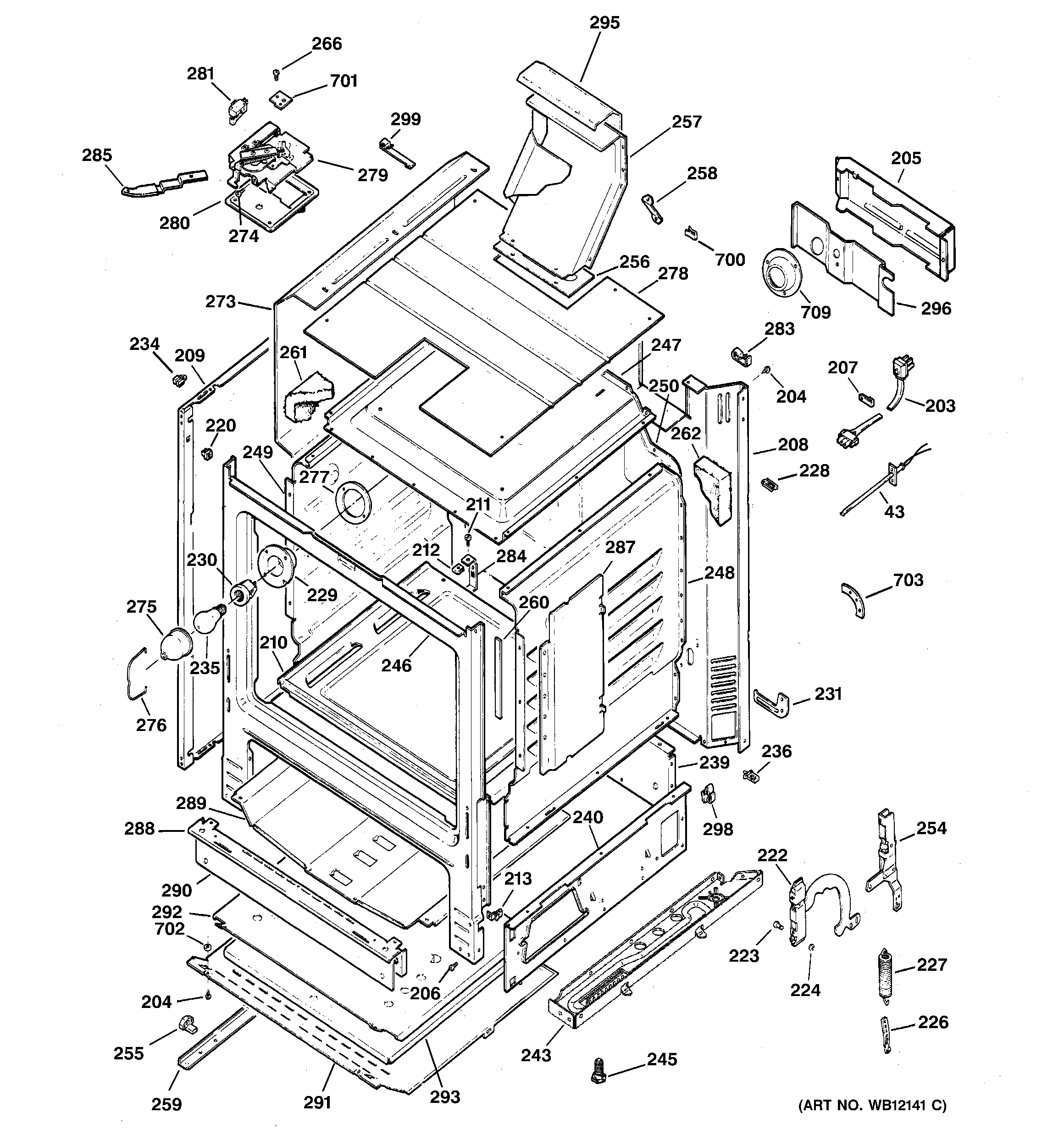
JGBP30BEH1CT BODY PARTS

JGBP30BEH1CT BODY PARTS

Products

PositionProduct
43WB21X5301 GE Range Stove Oven Temperature Sensor Probe 6" Length
203WB18K10036 GE Oven Line Cord
204WZ4X345D GE Screw Package 12 C92
204WB1K5062 GE Oven Screw
205GEN WB34K0006
206WR01X10065 GE Screw
207WB2K36 GE Oven Clamp Cable
208WB63K21 GE Back
209GEN WB62K10039
210WB35X37973 GE Oven Bottom and Deflector Assembly
211WB1K5 GE Oven Screw 8-18 X B97
212WB1K2 GE Oven Speednut
213WB1K3 GE Oven Speed Nut
220GEN WB02K0008
222WB10K12 GE Oven Hinge Assembly
223GEN WB02X6195
224RING RETAINING
226GEN WB02K0011
227GEN WB09K0005
228GEN WB02X7066
229GEN WB08K0001
230WB08T10026 GE Range Push-In Receptacle
231WB2K20 GE Oven Bracket Assembly
231GEN WB02K0012
234GEN WB02K0066
235RANGE ONLY 40W 120V APPL BULB
236GEN WB02K0022
239WB63K10203 GE Oven Rear Broil Panel
240WB63K3 GE Oven Panel Side Broil
240GEN WB63K0002
243WB63K10232 GE Oven Support Base
243WB63K10233 GE Oven Support Base
245WB02X10521 GE Oven Leveling Leg
246GEN WB63K0036
247WB53K10004 GE Oven Top
248GEN WB53K0002
249GEN WB53K0003
250GEN WB53K0019
254GEN WB01K0053
254GEN WB10K0014
254GEN WB10K0013
255WB02K10158 GE Oven Drawer Support
256GEN WB32K0001
257WB38K10001 GE Oven Vent Assembly
258WB38K2 GE Range Vent Brace
259WB39K16 GE Oven Drawer Rail
260WB32K2 GE Oven Gasket Seal
261GEN WB35K0007
262GEN WB35K0008
266GEN WB01K0012
266GEN WZ05X0124
273GEN WB53K0011
273GEN WB53K0012
274GEN WB01K0044
275WB36X192 GE Oven Light Cover
276WB2K27 GE Oven Bail
277GEN WB32K0005
278GEN WB53K0018
279GEN WB02K0042
280GEN WB02K0029
281GEN WB24K10010
283WB02X21679 GE Oven Wire Clip
284WB2K32 GE Oven Support Bracket
285GEN WB15K10014
285GEN WB15K10049
287WB34K30 GE Radiation Guard
287GEN WB34K0031
288BRACE
289WB34K10086 GE Oven Lower Heat Shield
290GEN WB34K0012
291WB63K16 GE Oven Bottom Guard
292GEN WB63K0017
293GEN WB63K0018
295GEN WB35K10003
296WB34K13 GE Oven B Panel Cover
298GEN WB02K0037
299GEN WB02K0038
700RETAINER-INSULATION
701SHIELD SWITCH
702WB1K45 GE Oven Screw and Washer Assembly
703BRACKET OVEN
709GEN WB08K0004