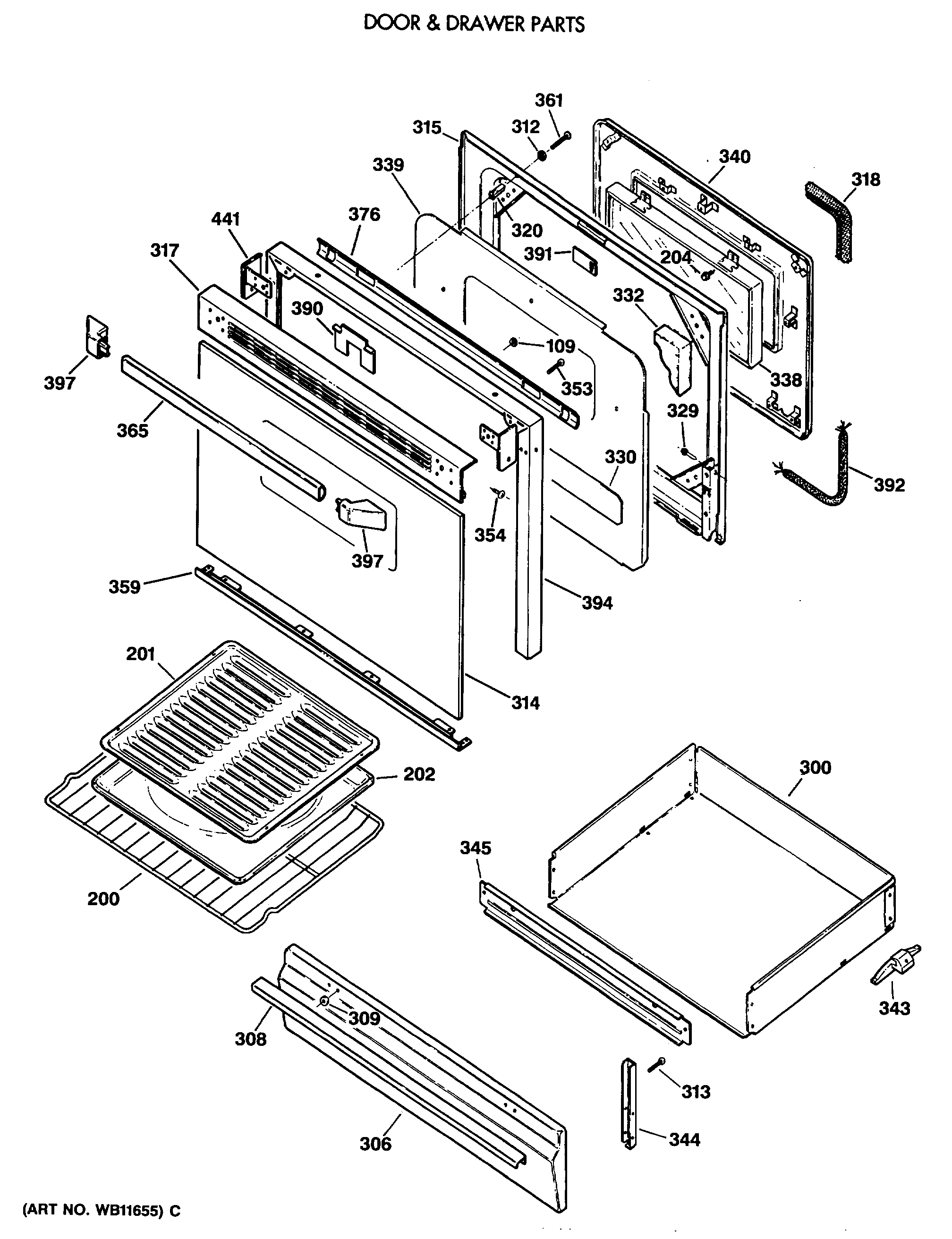
JGBP30GEV3WH DOOR & DRAWER PARTSadmin2025-04-26T08:47:08+00:00JGBP30GEV3WH DOOR & DRAWER PARTS ProductsPositionProduct200WB48T10095 GE Oven Rack201GEN WB48K0002202GEN WB49K0002204WB1K5062 GE Oven Screw204WZ4X345D GE Screw Package 12 C92300GEN WB39K0021306WB56X21199 GE Oven Drawer Panel308GEN WB15K0017309WASHER312WB1X119D GE Oven Range Washer313GEN WB01K0016314GEN WB57K0002315GEN WB55K0025317TRIM VENT (BK)318WB4K1 GE Oven Gasket Door320GEN WB02K0084329WB1X558D GE Oven Screw Package330GEN WB35K0033330GEN WB35K0022332GEN WB35K0020338GEN WB56K0019339GUARD INSULATION340GEN WB55K0020343WB2K68 GE Oven Drawer Glide344WB39K20 GE Oven Mounting Bracket Drawer345GEN WB39K0022353WB1K67 GE Oven Screw 8-22354WB1K62 GE Oven Door Assembly359WB07K10232 GE Oven Bottom Trim Assembly361GEN WB01K0069365WB15K5076 GE Oven Door Handle376WB35K23 GE Heater Deflector390GEN WB34K0025391GEN WB34K0026392GEN WB04K0002394TRIM DOOR (BK)397WB7X7183 GE Oven Black Handle Endcap441GEN WB07X7181441GEN WB07X7182