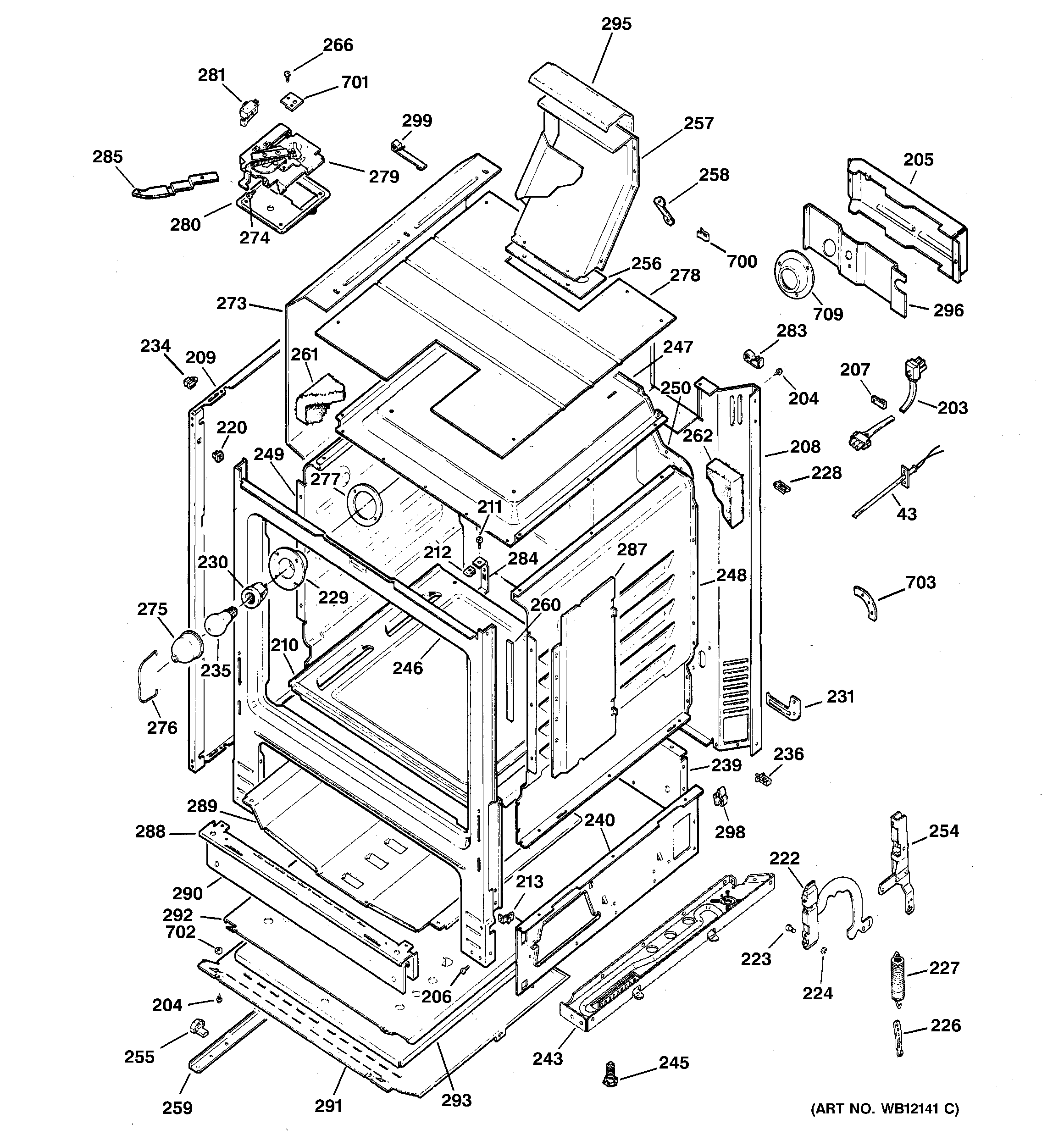
| 43 | WB21X5301 GE Range Stove Oven Temperature Sensor Probe 6" Length |
| 203 | WB18K10036 GE Oven Line Cord |
| 204 | WB1K5062 GE Oven Screw |
| 204 | WZ4X345D GE Screw Package 12 C92 |
| 205 | GEN WB34K0006 |
| 206 | WR01X10065 GE Screw |
| 207 | WB2K36 GE Oven Clamp Cable |
| 208 | WB63K21 GE Back |
| 209 | GEN WB63K0050 |
| 210 | GEN WB53K0035 |
| 211 | WB1K5 GE Oven Screw 8-18 X B97 |
| 212 | WB1K2 GE Oven Speednut |
| 213 | WB1K3 GE Oven Speed Nut |
| 220 | GEN WB02K0008 |
| 222 | WB10K12 GE Oven Hinge Assembly |
| 223 | GEN WB02X6195 |
| 224 | RING RETAINING |
| 226 | GEN WB02K0011 |
| 227 | GEN WB09K0005 |
| 228 | GEN WB02X7066 |
| 229 | GEN WB08K0001 |
| 230 | WB08T10026 GE Range Push-In Receptacle |
| 231 | GEN WB02K0012 |
| 234 | GEN WB02K0066 |
| 235 | RANGE ONLY 40W 120V APPL BULB |
| 236 | GEN WB02K0022 |
| 239 | GEN WB63K0025 |
| 240 | GEN WB63K0002 |
| 240 | WB63K3 GE Oven Panel Side Broil |
| 243 | WB63K10233 GE Oven Support Base |
| 243 | WB63K10232 GE Oven Support Base |
| 245 | WB02X10521 GE Oven Leveling Leg |
| 246 | GEN WB63K0036 |
| 247 | WB53K10004 GE Oven Top |
| 248 | GEN WB53K0002 |
| 249 | GEN WB53K0003 |
| 250 | GEN WB53K0019 |
| 254 | GEN WB10K0013 |
| 254 | GEN WB01K0053 |
| 254 | GEN WB10K0014 |
| 255 | WB02K10158 GE Oven Drawer Support |
| 256 | GEN WB32K0001 |
| 257 | WB38K10001 GE Oven Vent Assembly |
| 258 | WB38K2 GE Range Vent Brace |
| 259 | WB39K16 GE Oven Drawer Rail |
| 260 | WB32K2 GE Oven Gasket Seal |
| 261 | GEN WB35K0007 |
| 262 | GEN WB35K0008 |
| 266 | GEN WZ05X0124 |
| 266 | GEN WB01K0012 |
| 273 | GEN WB53K0011 |
| 273 | GEN WB53K0012 |
| 274 | GEN WB01K0044 |
| 275 | WB36X192 GE Oven Light Cover |
| 276 | WB2K27 GE Oven Bail |
| 277 | GEN WB32K0005 |
| 278 | GEN WB53K0018 |
| 279 | GEN WB02K0042 |
| 280 | GEN WB02K0029 |
| 281 | GEN WB24K10010 |
| 283 | WB02X21679 GE Oven Wire Clip |
| 284 | WB2K32 GE Oven Support Bracket |
| 285 | GEN WB15K10014 |
| 287 | WB34K30 GE Radiation Guard |
| 287 | GEN WB34K0031 |
| 288 | BRACE |
| 289 | WB34K10086 GE Oven Lower Heat Shield |
| 290 | GEN WB34K0012 |
| 291 | WB63K16 GE Oven Bottom Guard |
| 292 | GEN WB63K0017 |
| 293 | GEN WB63K0018 |
| 295 | GEN WB35K10003 |
| 296 | WB34K13 GE Oven B Panel Cover |
| 298 | GEN WB02K0037 |
| 299 | GEN WB02K0038 |
| 700 | RETAINER-INSULATION |
| 701 | SHIELD SWITCH |
| 702 | GEN WB01K0024 |
| 703 | BRACKET OVEN |
| 709 | GEN WB08K0004 |