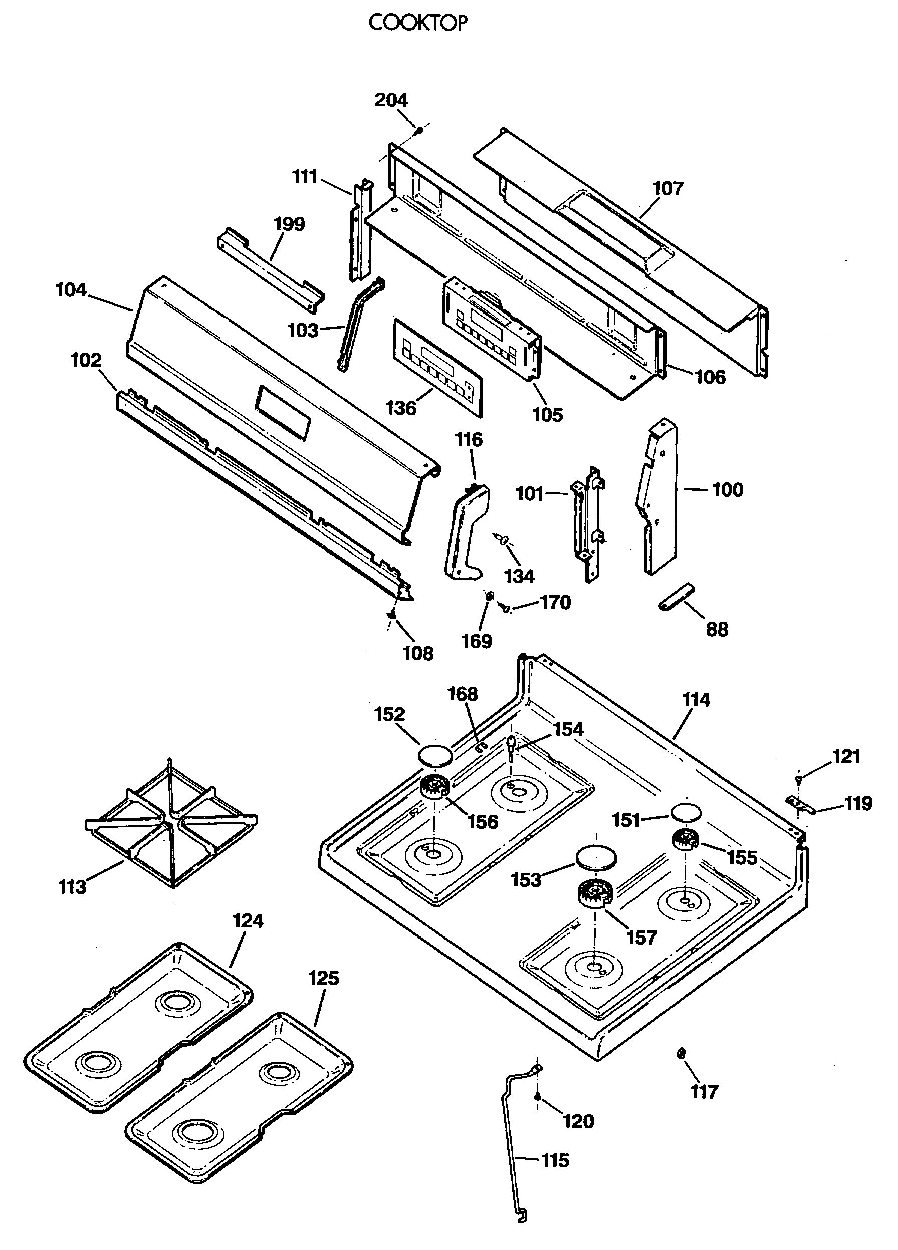
JGBP34AEV3AD COOKTOP