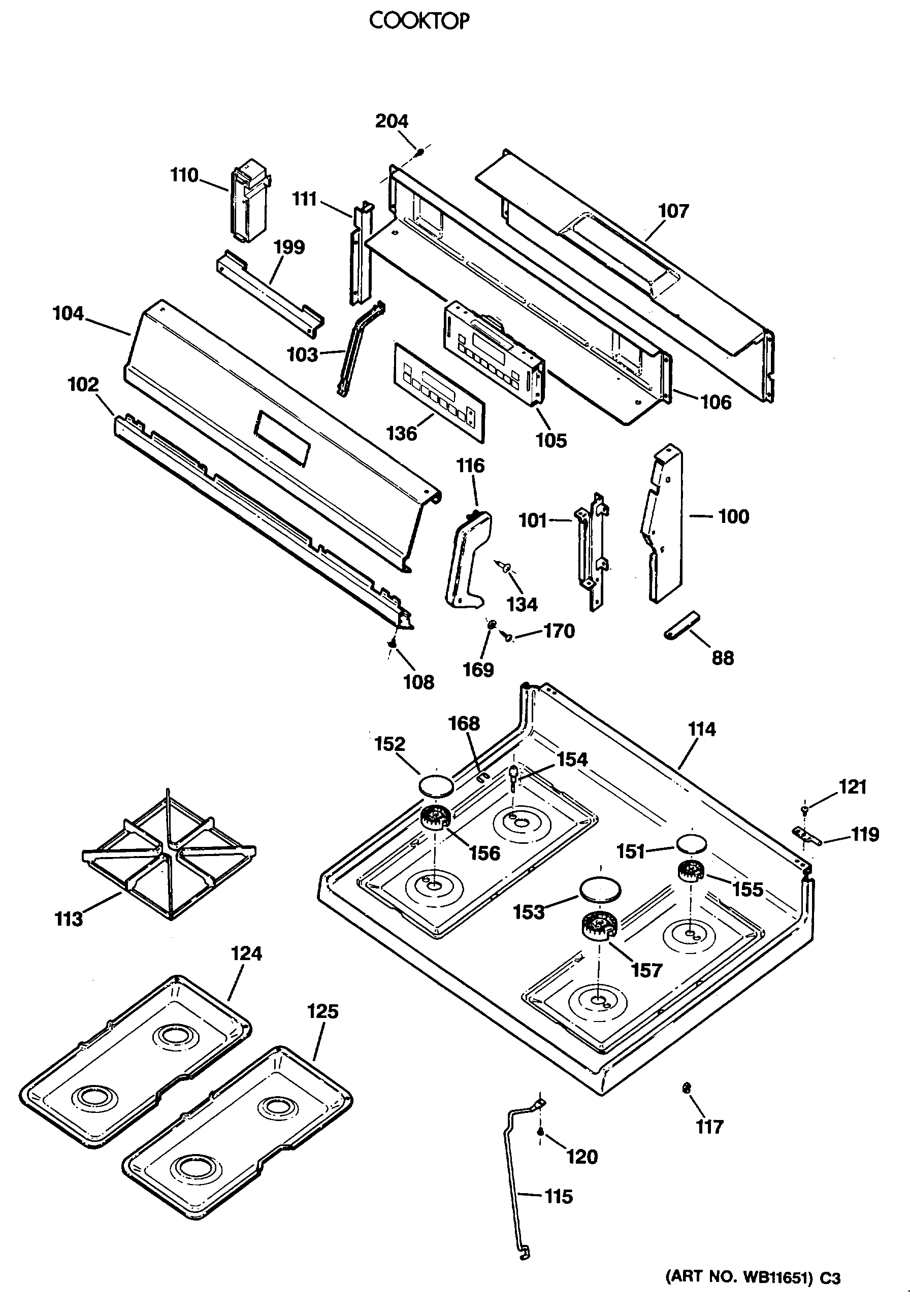
JGBP34WEV4WH COOKTOP