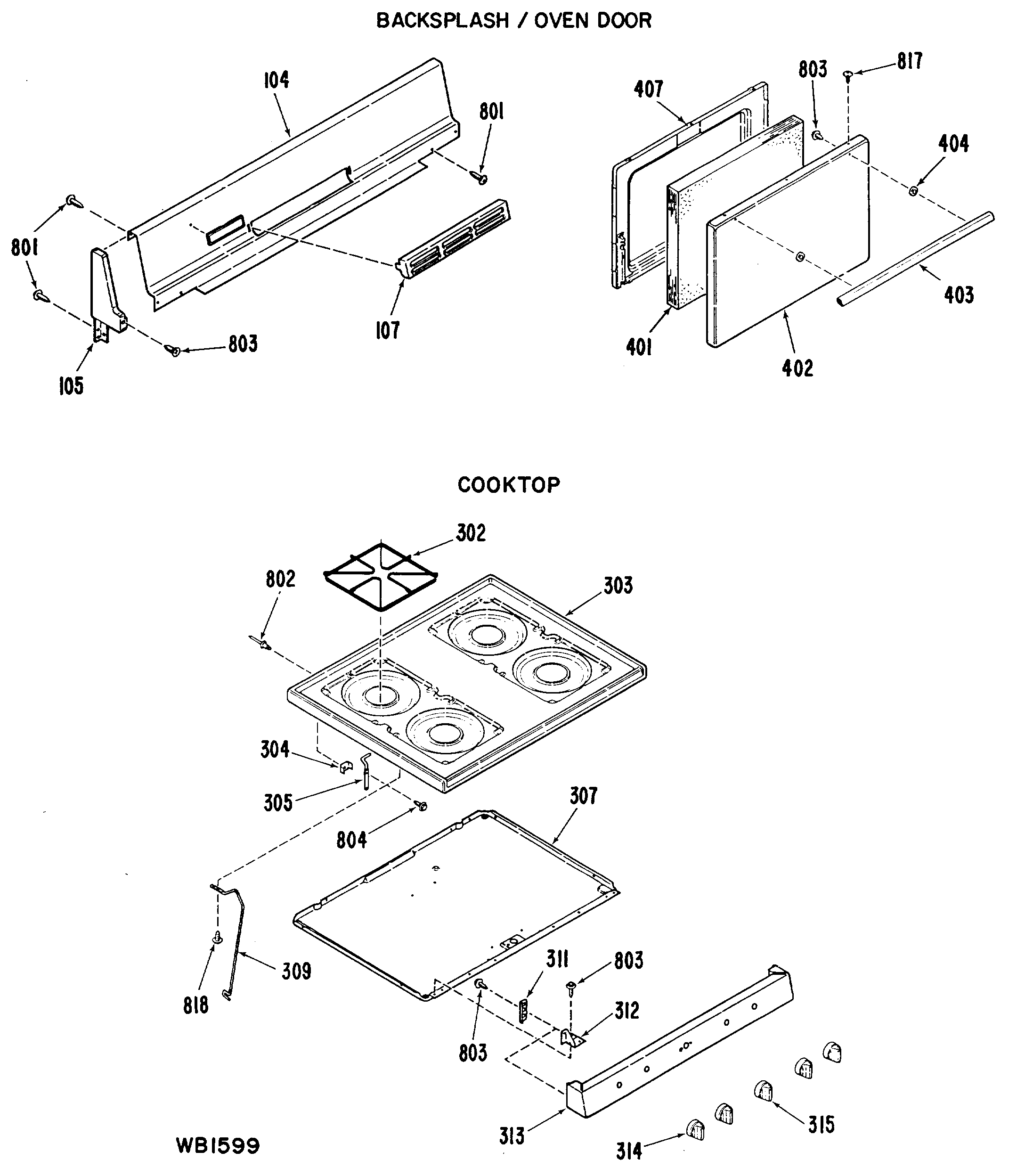
JGBS03EK1 BACKSPLASH/OVEN DOOR