JGBS03PK1 BACKSPLASH/OVEN DOOR
Products
| Position | Product |
|---|---|
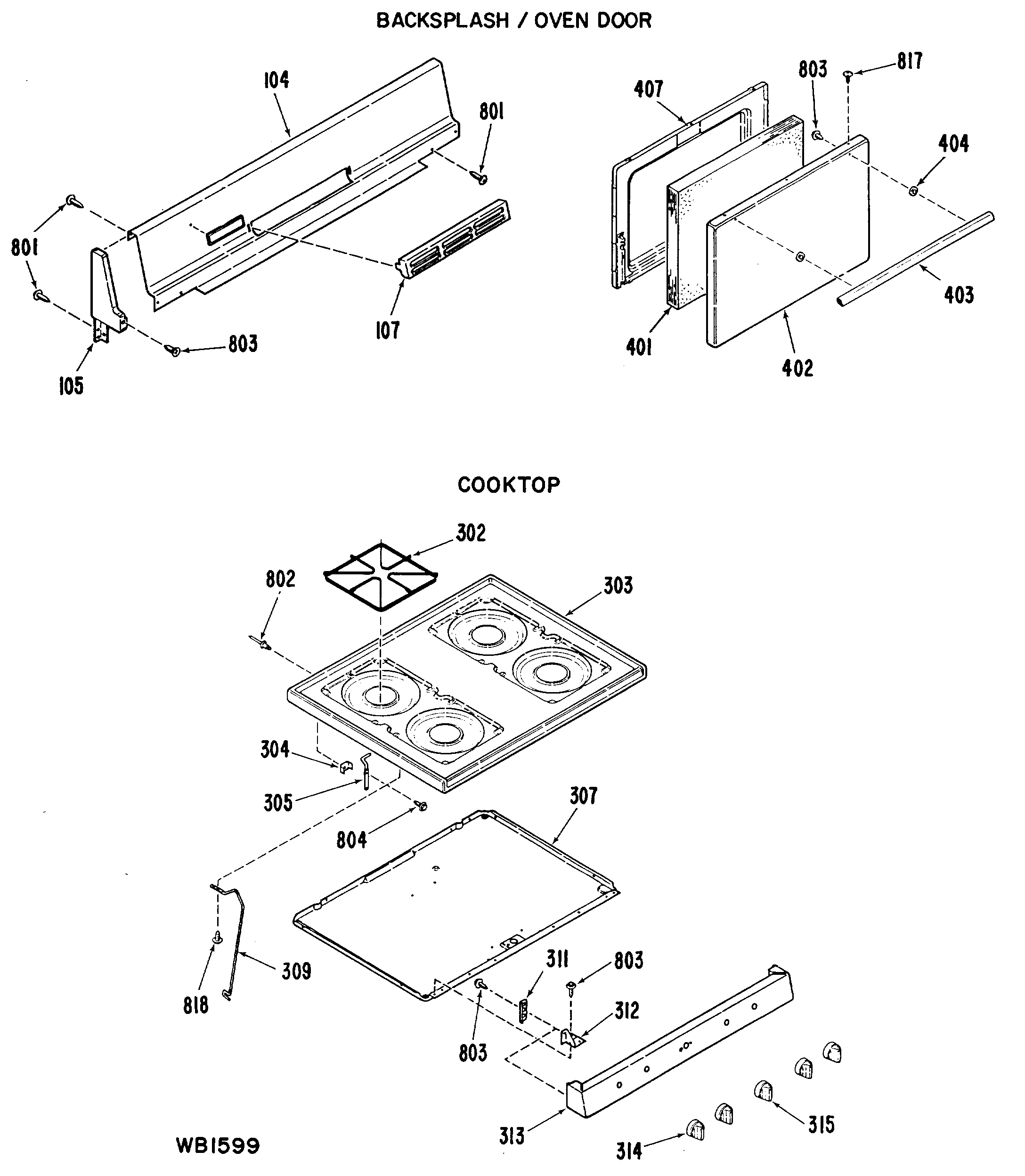
| 104 | BACKGUARD PANEL |
| 105 | END CAP-RT |
| 105 | END CAP-LT |
| 107 | VENT TRIM |
| 302 | GRATE |
| 303 | MAIN TOP-WHITE |
| 303 | MAIN TOP-ALMOND |
| 304 | MAINTOP HINGE BRACKET |
| 305 | MAINTOP HINGE-LT |
| 305 | MAINTOP HINGE-RT |
| 307 | GEN WB63X0323 |
| 309 | SUPPORT ROD |
| 311 | GEN WB02X9000 |
| 312 | MANIF PANEL BRACKET-RT |
| 312 | MANIF PANEL BRACKET-LT |
| 313 | MANIFOLD PANEL |
| 314 | GAS VALVE KNOB |
| 315 | THERMOSTAT KNOB |
| 401 | UNKNOWN |
| 402 | UNKNOWN |
| 402 | UNKNOWN |
| 403 | GEN WB15X0270 |
| 404 | DOOR HANDLE SPACER |
| 407 | GEN WB02X9100 |
| 407 | GEN WB56X1898 |
| 801 | GEN WB01X1113 |
| 802 | POP RIVET |
| 803 | WB1M1 GE Oven Screw |
| 804 | WB1X1116 GE Oven Screw |
| 817 | WB1X1149 GE Oven Screw |
| 818 | GEN WB01X1150 |