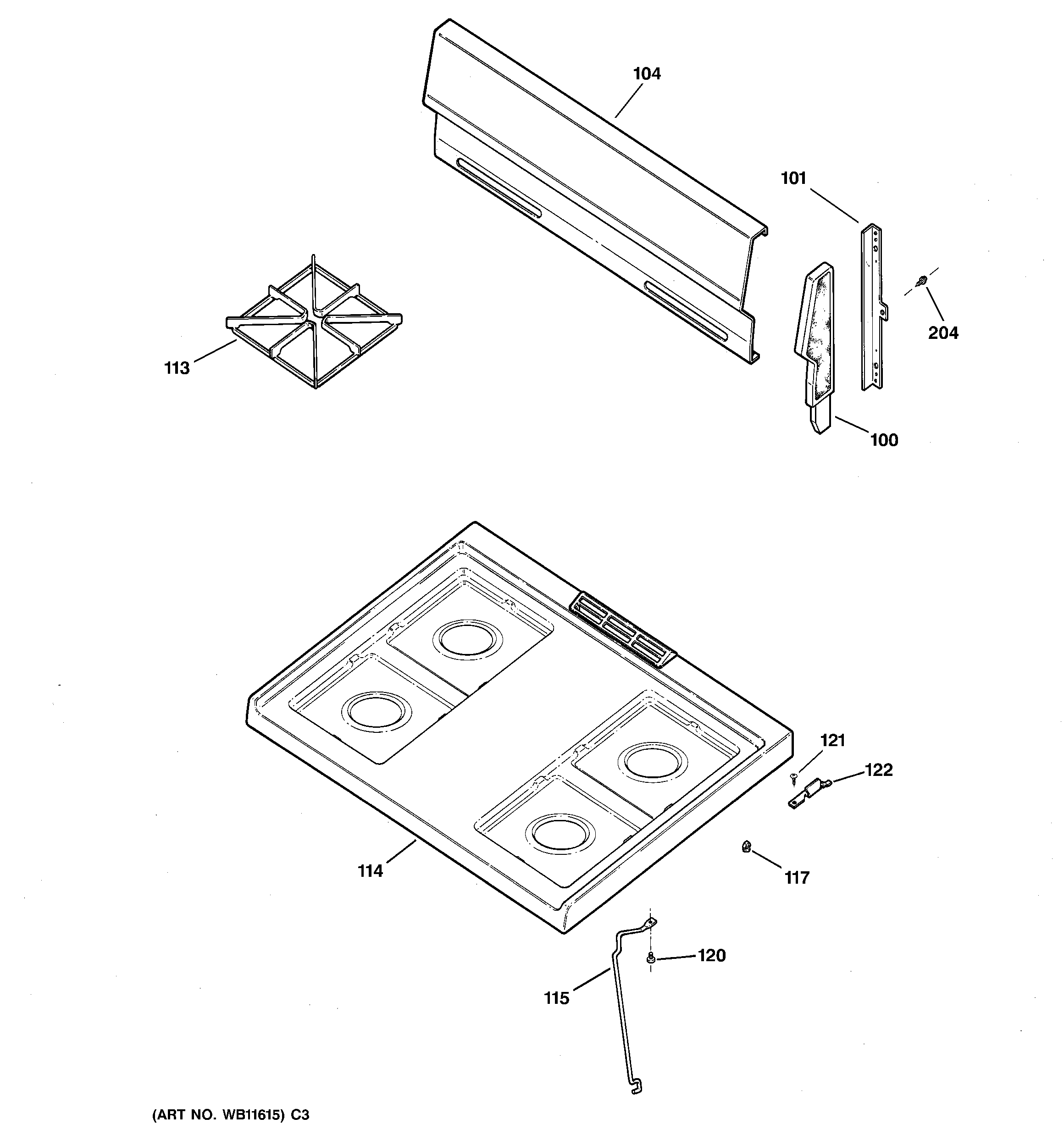
JGBS04BEA1CT COOKTOP