| 2 | GEN WB03K0099 |
| 3 | WB28K10376 GE Oven Orifice |
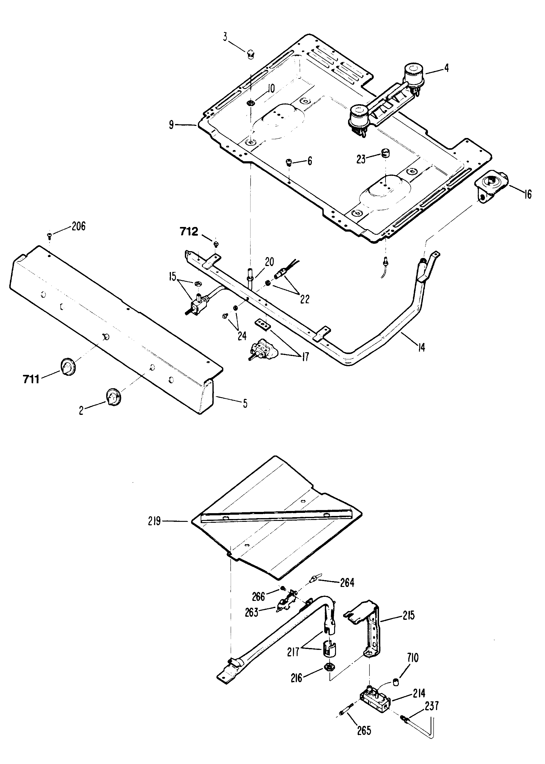
| 3 | ORIFICE NATURAL GAS |
| 4 | WB16K10026 GE Oven Range Cooktop Double Burner |
| 5 | GEN WB07K0134 |
| 6 | GEN WB02K0009 |
| 9 | GEN WB63K0009 |
| 10 | GEN WB01K0004 |
| 14 | GEN WB28K0067 |
| 15 | GEN WB21K0019 |
| 16 | GEN WB19K0004 |
| 17 | GEN WB20K0002 |
| 20 | GEN WB28K0031 |
| 20 | GEN WB28K0032 |
| 20 | GEN WB28K0047 |
| 20 | GEN WB28K0048 |
| 22 | GEN WB19K0005 |
| 23 | GEN WB02K0021 |
| 24 | GEN WB01K0011 |
| 206 | WR01X10065 GE Screw |
| 210 | GEN WB53K0005 |
| 214 | GEN WB19K0012 |
| 215 | GEN WB02K0007 |
| 216 | GEN WB01K0006 |
| 217 | GEN WB16K0009 |
| 219 | FLAME SPREADER |
| 219 | WB1X1293 GE Oven Screw |
| 237 | GEN WB28K0051 |
| 263 | GEN WB19K0006 |
| 264 | GEN WB28K0050 |
| 265 | GEN WB04X0366 |
| 710 | GEN WB02K0051 |
| 711 | GEN WB03K0020 |
| 712 | WB1K37 GE Oven Screw |
| 32767 | WB2K20 GE Oven Bracket Assembly |
| 32767 | GEN 31-1363 |