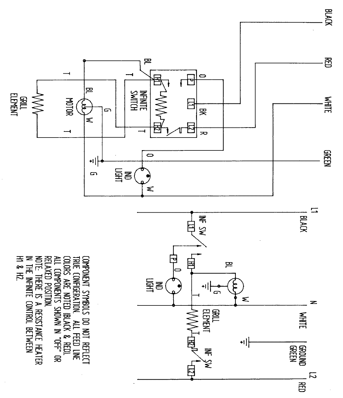
JGC6430ADW 04 – WIRING INFORMATIONadmin2025-04-26T09:04:11+00:00JGC6430ADW 04 – WIRING INFORMATION ProductsPositionProductNIMAY 15002030