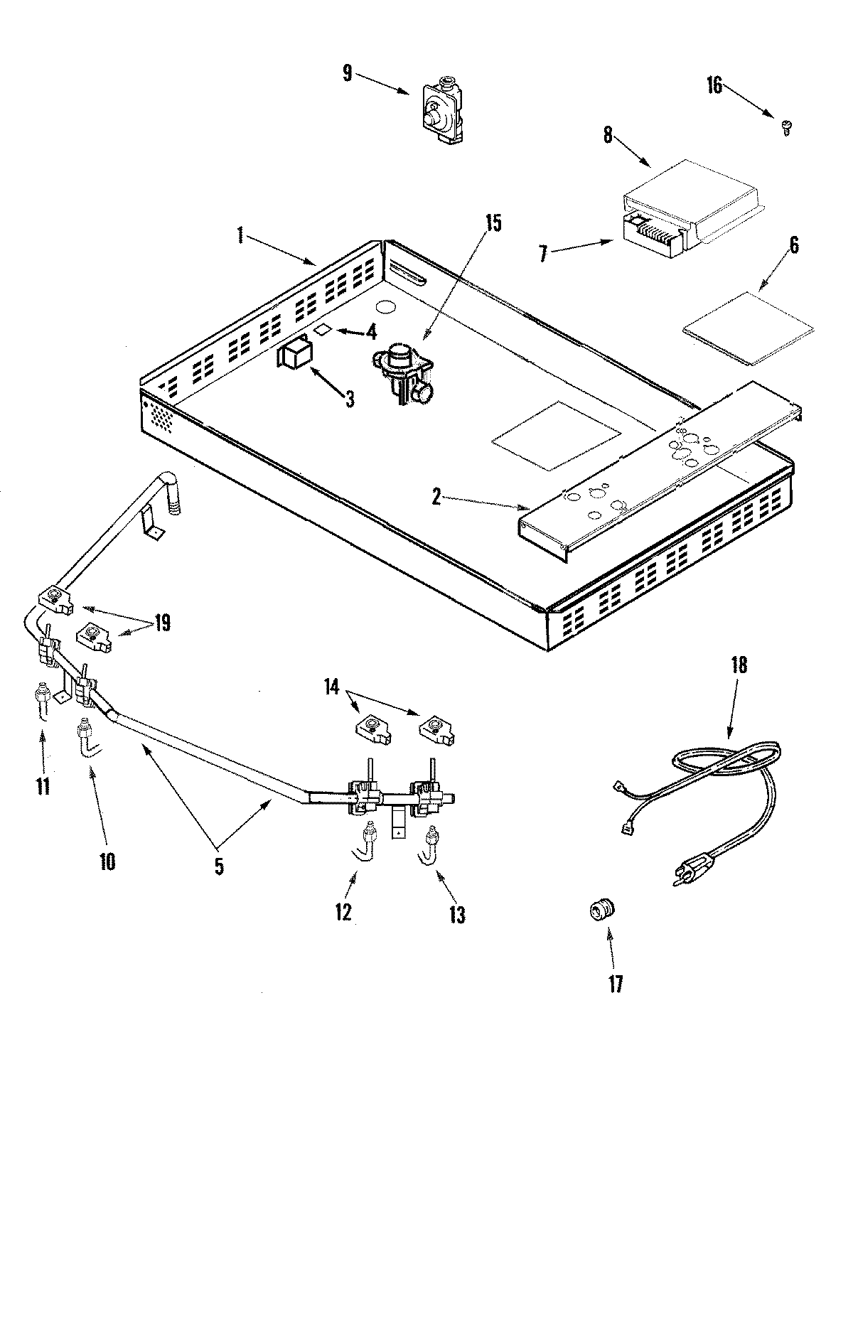
JGC8430BDW 01 – BODY