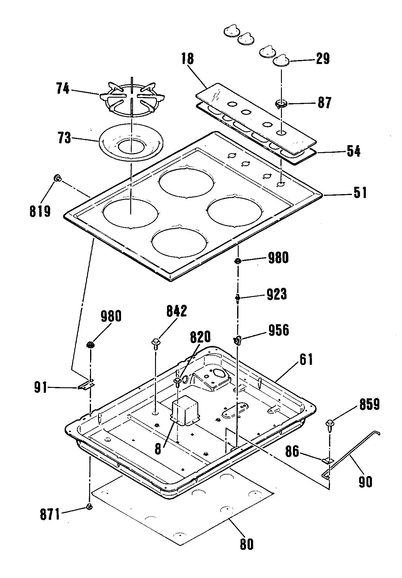
JGP320EP2WH 0