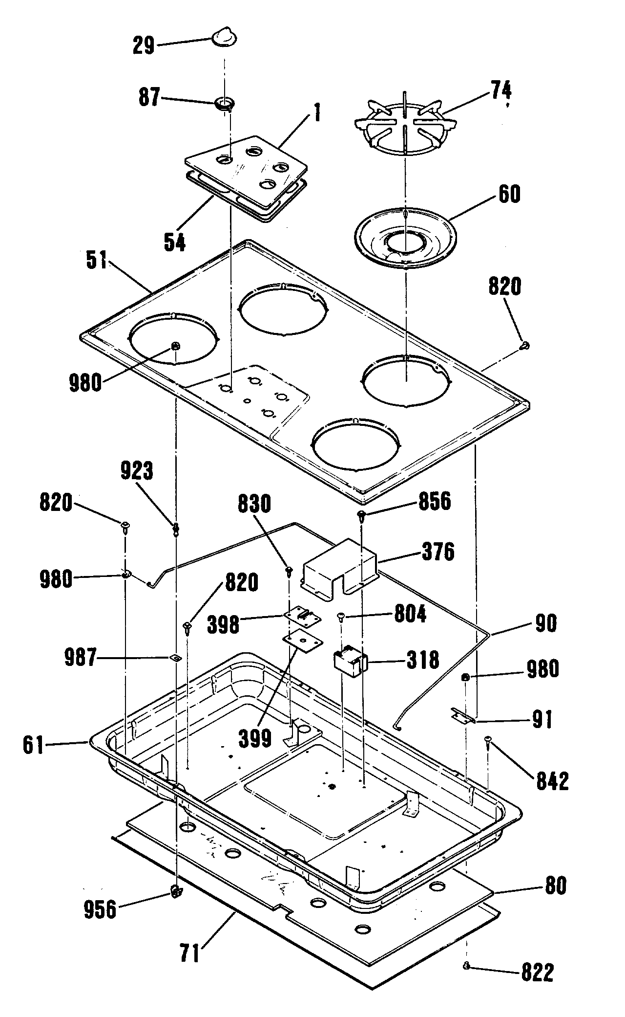
| 1 | GEN WB36K5285 |
| 29 | GEN WB03K5139 |
| 51 | GEN WB62K5106 |
| 54 | GEN WB32K5031 |
| 60 | GEN WB31K5058 |
| 60 | GEN WB31K5059 |
| 61 | GEN WB64K5070 |
| 69 | WB2M87 GE Oven Support Rod Clamp |
| 71 | GEN WB02X9529 |
| 74 | GEN WB31K5064 |
| 80 | GEN WB34K5188 |
| 87 | WB32K5024 |
| 90 | GEN WB02X9112 |
| 91 | GEN WB10K5010 |
| 318 | SPARK IGN MODULE |
| 376 | GEN WB34K5127 |
| 398 | GEN WB02K5284 |
| 399 | GEN WB32M0007 |
| 804 | WB1X681 GE Oven Screw |
| 820 | WB1X1424D GE Oven Screw Package |
| 822 | GEN WB01X1292 |
| 830 | WB1X1130 GE Oven Screw 10-32 |
| 856 | GEN WB01K5137 |
| 923 | GEN WB14X0131 |
| 956 | CATCH-COOKTOP |
| 980 | GEN WB01X1129 |
| 999 | GEN SR13006 |
| 999 | GEN 31-10032 |
| 999 | GEN WB18K5413 |
| 999 | GEN 49-8334 |