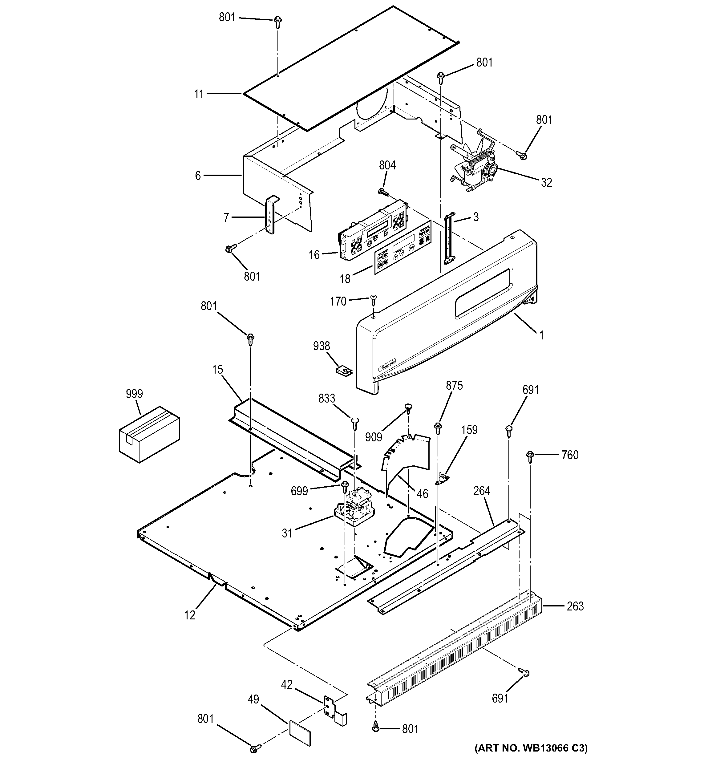
JGRP20BEJ2BB CONTROL PANEL