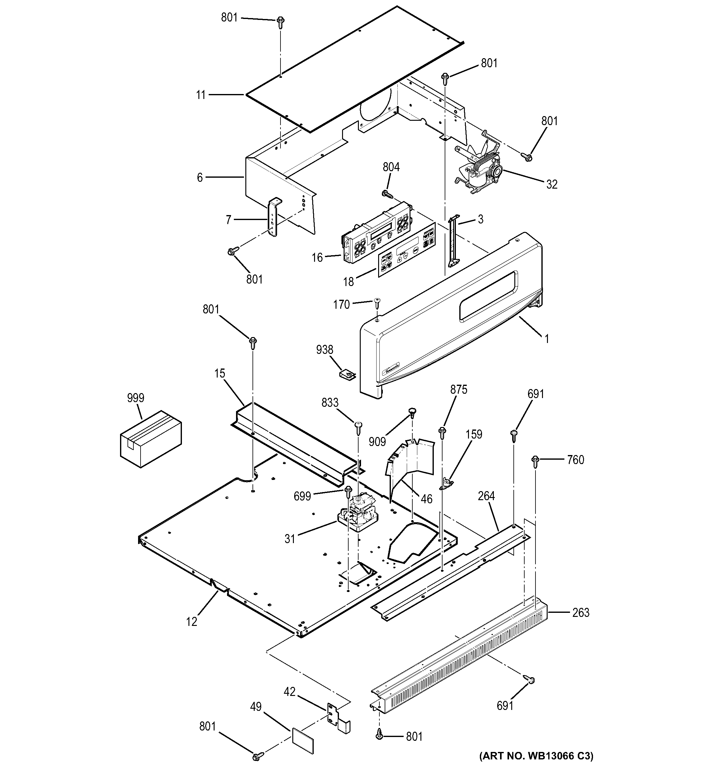
JGRP20WEJ2WW CONTROL PANELadmin2025-04-26T08:45:40+00:00JGRP20WEJ2WW CONTROL PANEL ProductsPositionProduct1WB36T10755 GE Oven Control Panel SWO SCR White3WB02T10250 GE Oven Control Mounting Bracket6WB36K5699 GE Oven Control Panel Housing7WB2K5406 GE Bracket11WB37K5040 GE Top Control Housing12WB63K5198 GE Oven Cabinet Top15WB2X9665 GE Wire Cover16WB27X27461 GE Oven Control ERC3B2K518WB27T10588 GE Oven Faceplate Graphic E0331WB26X114 GE Oven Lower Fan Assembly32WB26K5061 GE Oven Upper Fan Assembly42GEN WB34K524946WB34K5263 GE Wire Shield49WB35K5129 GE Heat Shield Insulation159WB24K5041 GE Oven Fan Limit Switch170WB1K60 GE Screw 8-18691WB1K5162 GE Oven Black Screw699WB1M1 GE Oven Screw760WB1X536 GE Oven Screw801WB01M10002 GE Oven Screw804WB02T10324 GE Oven Screw 6-20 GXB IHXW 3/8 NI833WB1X1131 GE Screw 6-32909WB1X1173 GE Rivet938WB1K5209 GE Oven Clip999MANUAL MIMI & WD ASM999PM OWNERS MANUAL999INSTRUCTION INSTALL