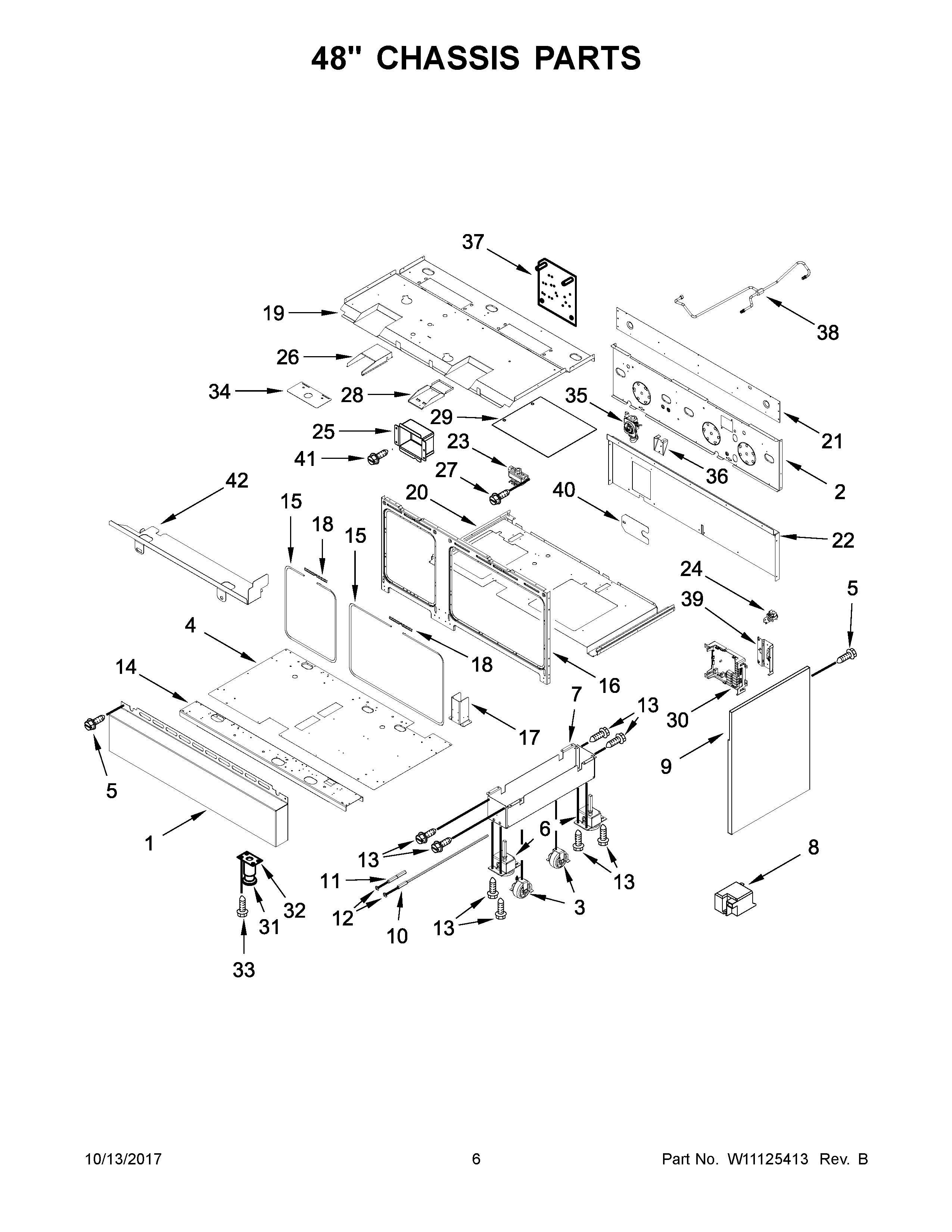
JGRP548WP02 04 – 48″ CHASSIS PARTSadmin2025-04-26T09:22:09+00:00JGRP548WP02 04 – 48″ CHASSIS PARTS ProductsPositionProduct1KICKPLATE2MAY W101453543MAY W101380544DUCT, BOTTOM (48")5Screw6FOOT7BASE, LEVELING8REIGNITOR9MAY W102504679AMAY W1025046610MAY W1011586911MAY W1011579312RING13MAY 444974314MAY W1014537515GASKET, OVEN (30")15AGASKET, OVEN (18")16MAY W1016089517MAY W1011581918AMAY W1021652018MAY W1015751119MAY W1014537220MAY W1014536921MAY W1032181622MAY W1014539023MAY W1014568024MAY W1031126825MAY W1030805126DRAWER27MAY 7101P426- 6028SUPPORT, CONTROL29SEAL30MANAGER, APPLIANCE31MAY 975911732PLATE, MOUNTING FOOT33MAY 340051834MAY W1011585535REGULATOR, PRESSURE36MAY W1030804237MAY W1051127838MAY W1014570439MAY W1014536240MAY W1014538141MAY 7101P434-6042DIVERTER, AIR