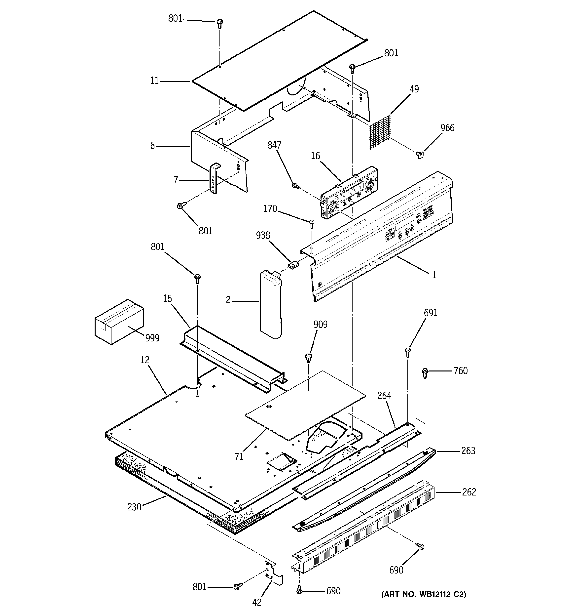
JGRS14BEW6BB CONTROL PANEL