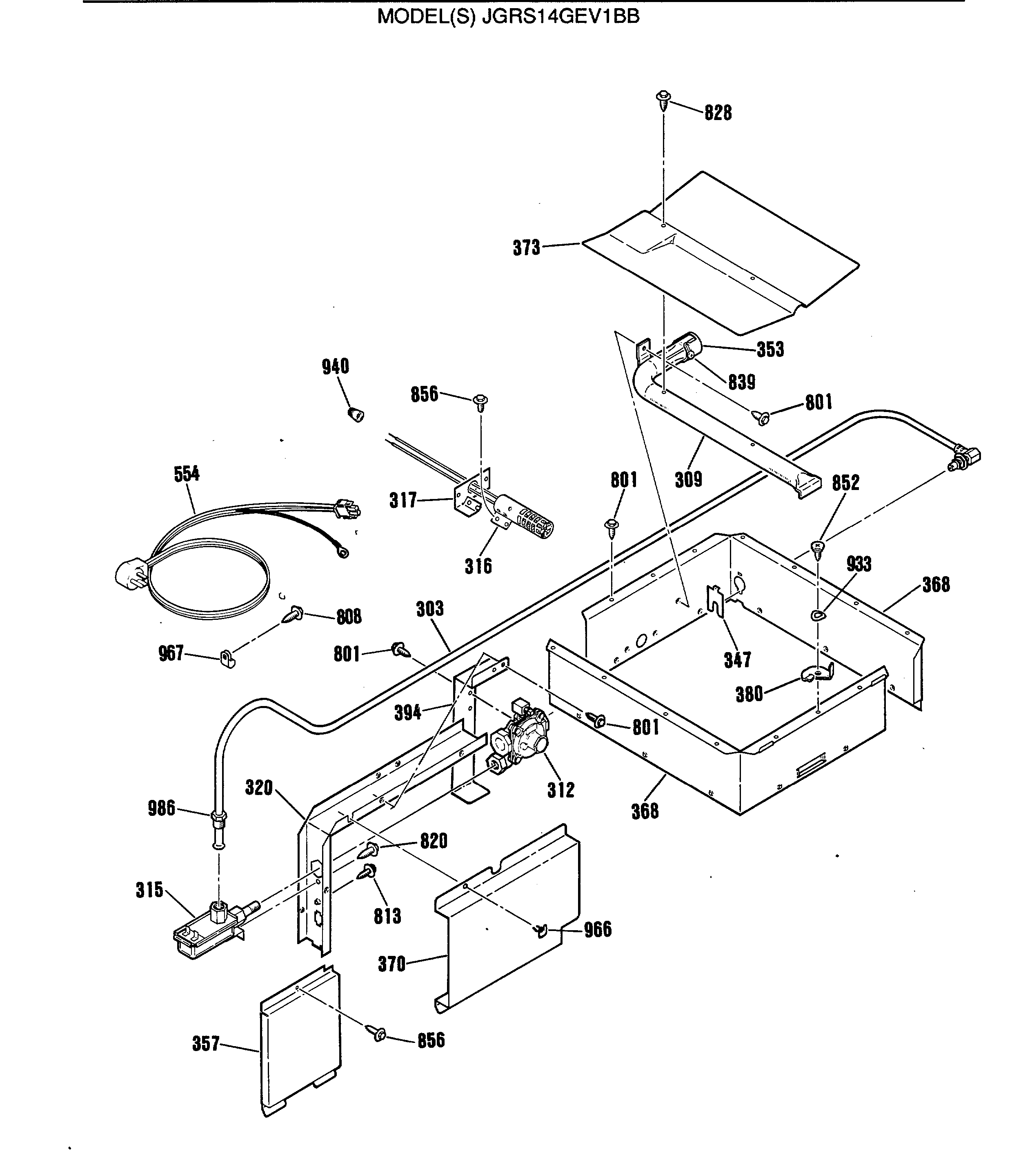
| 303 | WB28K5026 GE Oven Tube Assembly |
| 309 | GEN WB16K5014 |
| 312 | GEN WB19K5021 |
| 315 | WB21K5009 GE Oven Control Valve |
| 316 | WB2X9154 GE Oven Igniter with 8" Leads |
| 317 | 311689 GE Ignition Bracket |
| 320 | WB34K5212 GE Valve Wire Cover |
| 347 | GEN WB02K5165 |
| 353 | AIR SHUTTER-OVEN |
| 357 | GEN WB34K5096 |
| 368 | GEN WB64K5035 |
| 368 | GEN WB64K5036 |
| 370 | GEN WB34K5181 |
| 373 | WB34X38846 GE Broil Burner Baffle |
| 380 | WB14X115 GE Oven Latch |
| 394 | WB2K5343 GE Regulator Support |
| 554 | WB8K5039 GE Range Power Cord |
| 801 | WB1M1 GE Oven Screw |
| 808 | WB1X1116 GE Oven Screw |
| 813 | WB1X1261 GE Oven Screw |
| 820 | WB1X1424D GE Oven Screw Package |
| 828 | WB1X1141 GE Oven Screw 8-32 |
| 839 | AIR SHUTTER SCREW-OVEN |
| 852 | SCREW |
| 856 | WB1X1293 GE Oven Screw |
| 933 | GEN WB01X1256 |
| 940 | WB1X371D Package of 12 Ceramic Wire Connector |
| 966 | WB2X9573 GE Oven Clip |
| 967 | GEN WB02X9020 |
| 986 | NUT |