JGSC12GEP1 2
Products
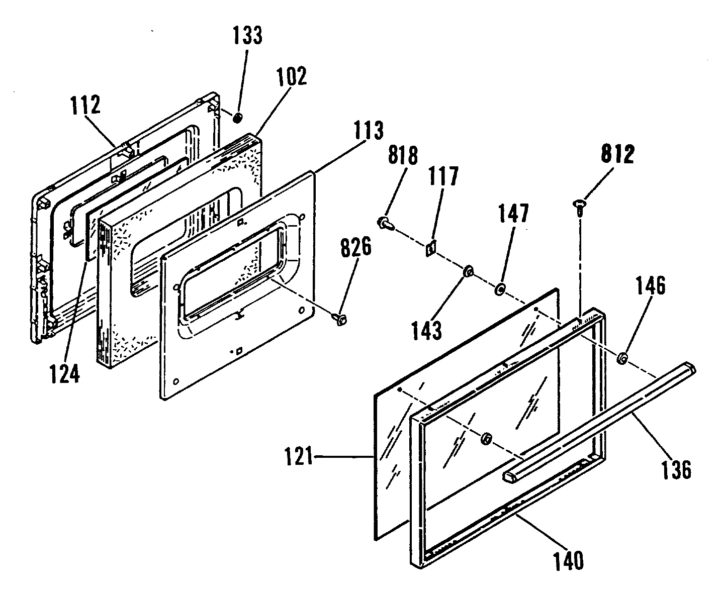
| Position | Product |
|---|---|
| 102 | UNKNOWN |
| 112 | OV DR LINING |
| 113 | INSULATION RETAINER |
| 117 | OV DR GLASS RETAINER |
| 121 | WB56X1902 GE Oven Outer Glass |
| 124 | OVEN DOOR GLASS |
| 136 | OV DOOR HANDLE |
| 140 | UNKNOWN |
| 143 | UNKNOWN |
| 146 | DOOR HANDLE SPACER-BLACK |
| 147 | FIBER WASHER |
| 812 | WB1K5191 GE Oven Zinc FL Screw |
| 818 | GEN WB01X1250 |
| 826 | GEN WB01X1167 |