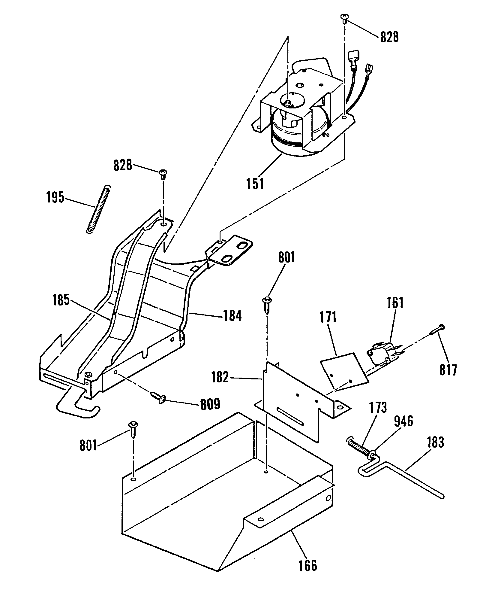
JGSP20GER2BG 4