| 151 | CAP BURNER MED (BK) |
| 151 | CAP BURNER SMALL (BK) |
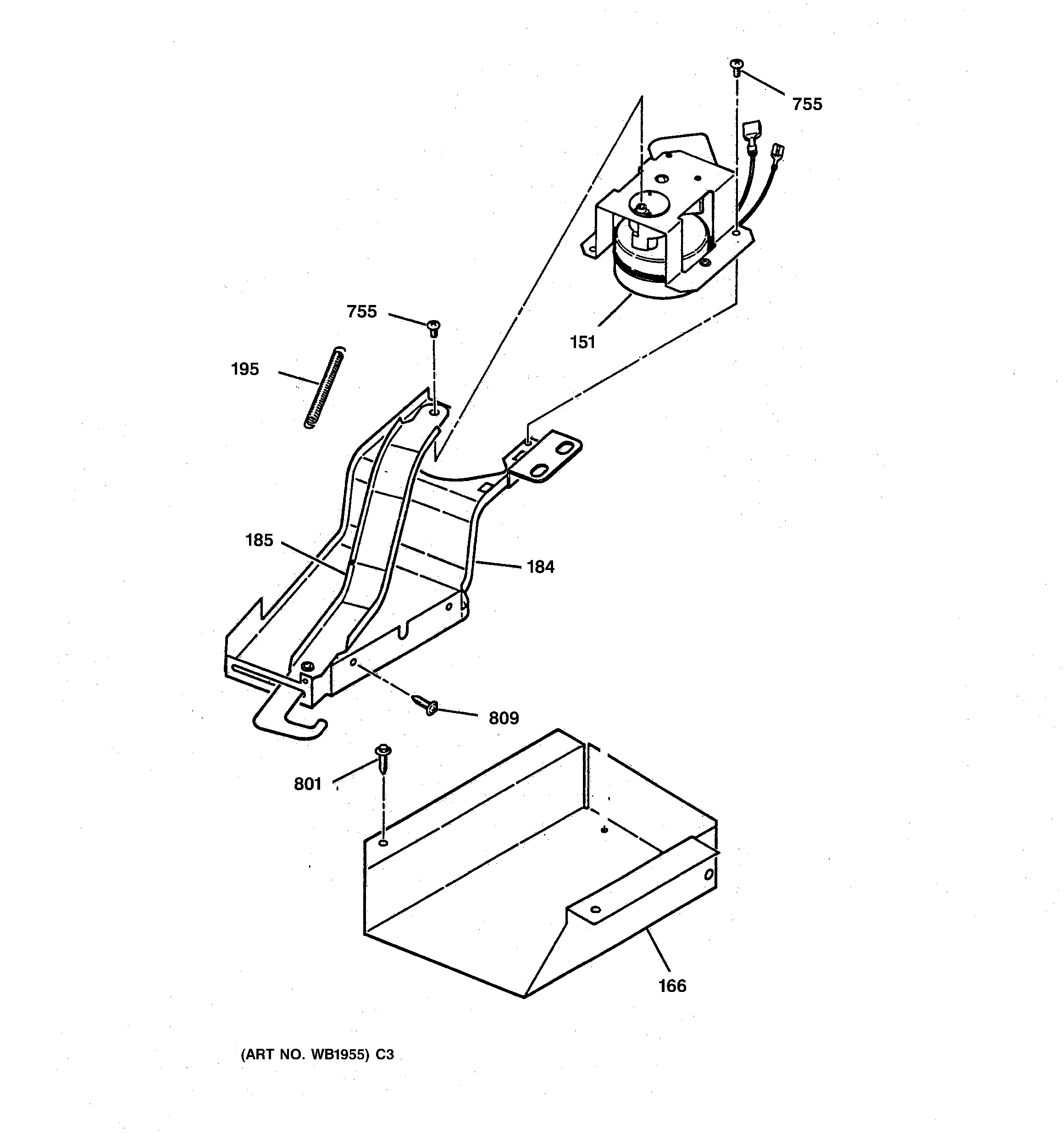
| 151 | WB49T10020 GE Stove Range Oven Lock Motor Latch Assembly |
| 166 | GEN WB02K5394 |
| 184 | GEN WB02K5393 |
| 185 | LOCK LEVER ASM |
| 195 | GEN WB09X0243 |
| 755 | WZ4X44D GE Screw Package |
| 801 | WB1M1 GE Oven Screw |
| 809 | WB1X1137 GE Oven Screw |