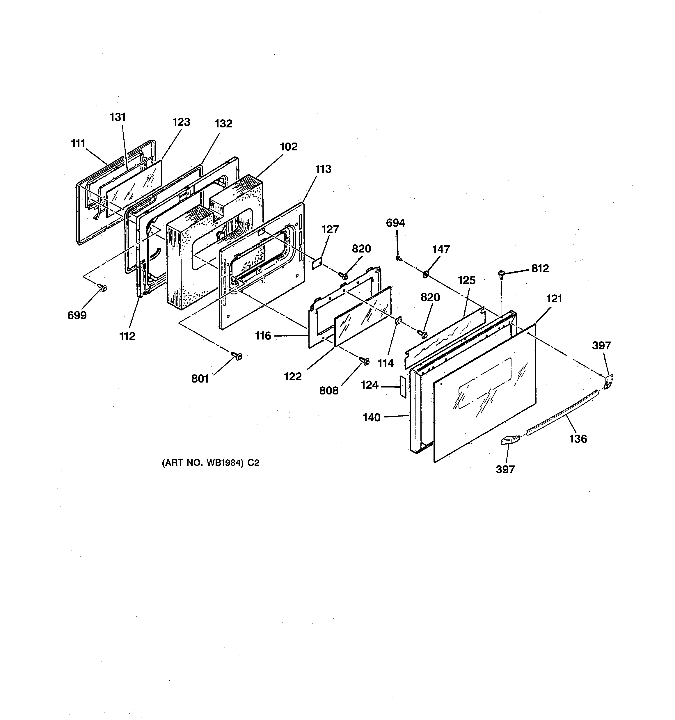
JGSP23WEV6WW DOOR