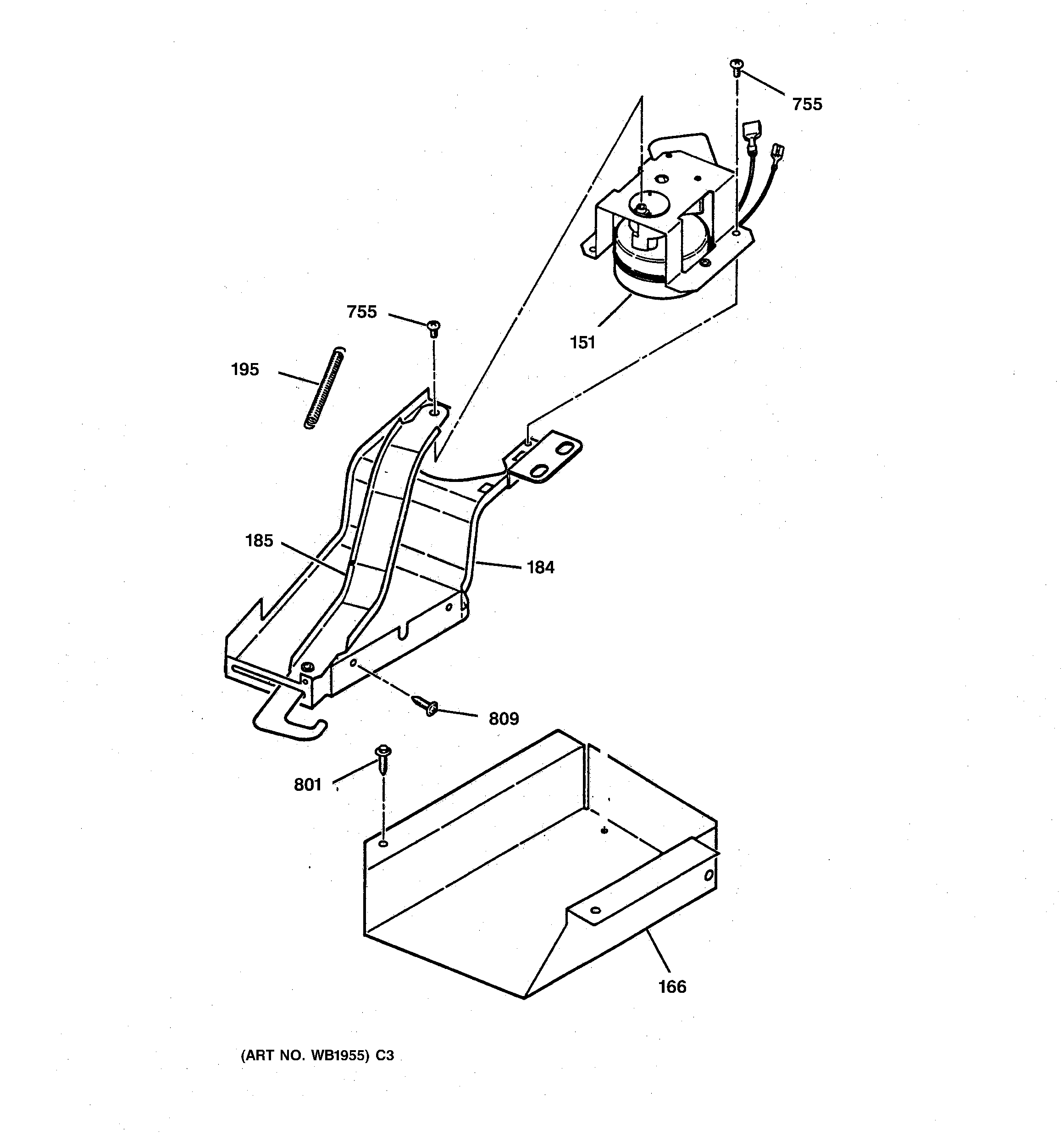
JGSP23WEY2WW DOOR LOCKadmin2025-04-26T08:45:05+00:00JGSP23WEY2WW DOOR LOCK ProductsPositionProduct151GEN WB29K0042151GEN WB29K0045151WB49T10020 GE Stove Range Oven Lock Motor Latch Assembly166GEN WB02K5394184GEN WB02K5393185LOCK LEVER ASM195GEN WB09X0243755WZ4X44D GE Screw Package801WB1M1 GE Oven Screw809WB1X1137 GE Oven Screw