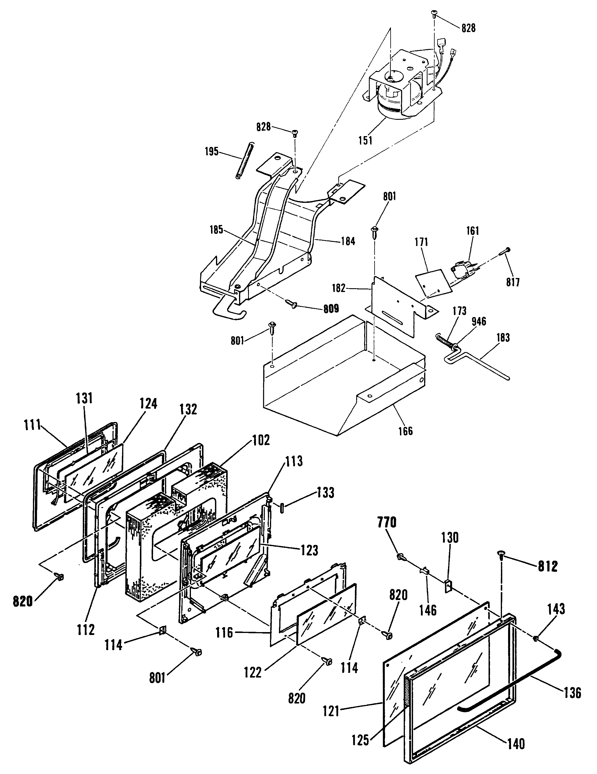
| 102 | OV DOOR INSULATION |
| 111 | GEN WB55M0010 |
| 112 | UNKNOWN |
| 113 | INSULATION RETAINER |
| 114 | GEN WB02M0001 |
| 116 | GEN WB02X9178 |
| 121 | GEN WB57K5096 |
| 122 | GEN WB57K5102 |
| 123 | CENTER GLASS |
| 124 | GEN WB57K5063 |
| 125 | OV DR OVERLAY |
| 130 | GEN WB02K5150 |
| 131 | GEN WB32K5020 |
| 131 | WB2X9168 GE Oven Seal |
| 132 | WB2K5319 GE Oven Door Gasket |
| 133 | FELT PAD |
| 136 | GEN WB15K5024 |
| 140 | GEN WB56M0006 |
| 140 | OV DR FRAME W/OVERLAY |
| 143 | GEN WB02M0046 |
| 146 | GEN WB02K5151 |
| 151 | UNKNOWN |
| 161 | GEN WB24X0416 |
| 166 | GEN WB02X9126 |
| 171 | SWITCH INSULATOR |
| 173 | GEN WB09X0242 |
| 182 | GEN WB06X0007 |
| 183 | GEN WB02X9128 |
| 184 | GEN WB02K5237 |
| 185 | LOCK LEVER ASM |
| 195 | GEN WB09X0243 |
| 770 | WB1K5072 GE Oven Screw |
| 801 | WB1M1 GE Oven Screw |
| 809 | WB1X1137 GE Oven Screw |
| 812 | WB1K5191 GE Oven Zinc FL Screw |
| 817 | GEN WB01X1346 |
| 820 | WB1X1424D GE Oven Screw Package |
| 828 | WB1X1141 GE Oven Screw 8-32 |
| 946 | GEN WB01M0015 |