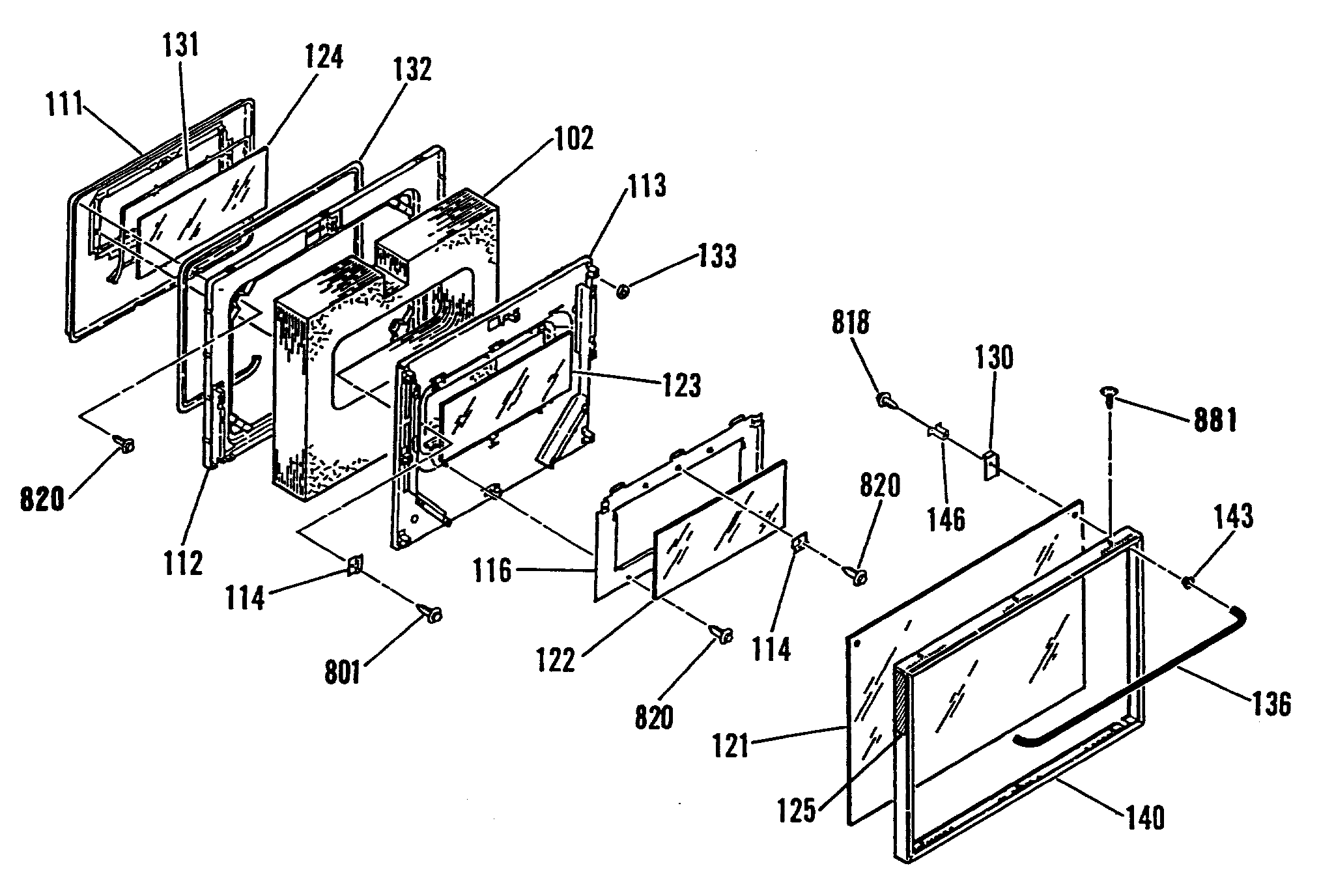
JGSP31GEP1 4admin2025-04-26T08:45:14+00:00JGSP31GEP1 4 ProductsPositionProduct102OV DOOR INSULATION111GEN WB55M0010112UNKNOWN113INSULATION RETAINER114GEN WB02M0001116GEN WB02X9178121UNKNOWN122OV DR INTERMEDIATE GLASS123CENTER GLASS124OV DR INNER GLASS125GEN WB35K5031130GEN WB02M0045131GEN WB32K5020132WB2X9373 GE Oven Gasket132WB2X9168 GE Oven Seal136OV DOOR HANDLE140GEN WB56M0006140UNKNOWN143DR HANDLE SPACER-WHITE146GEN WB02M0046801WB1M1 GE Oven Screw818GEN WB01X1250820WB1X1424D GE Oven Screw Package