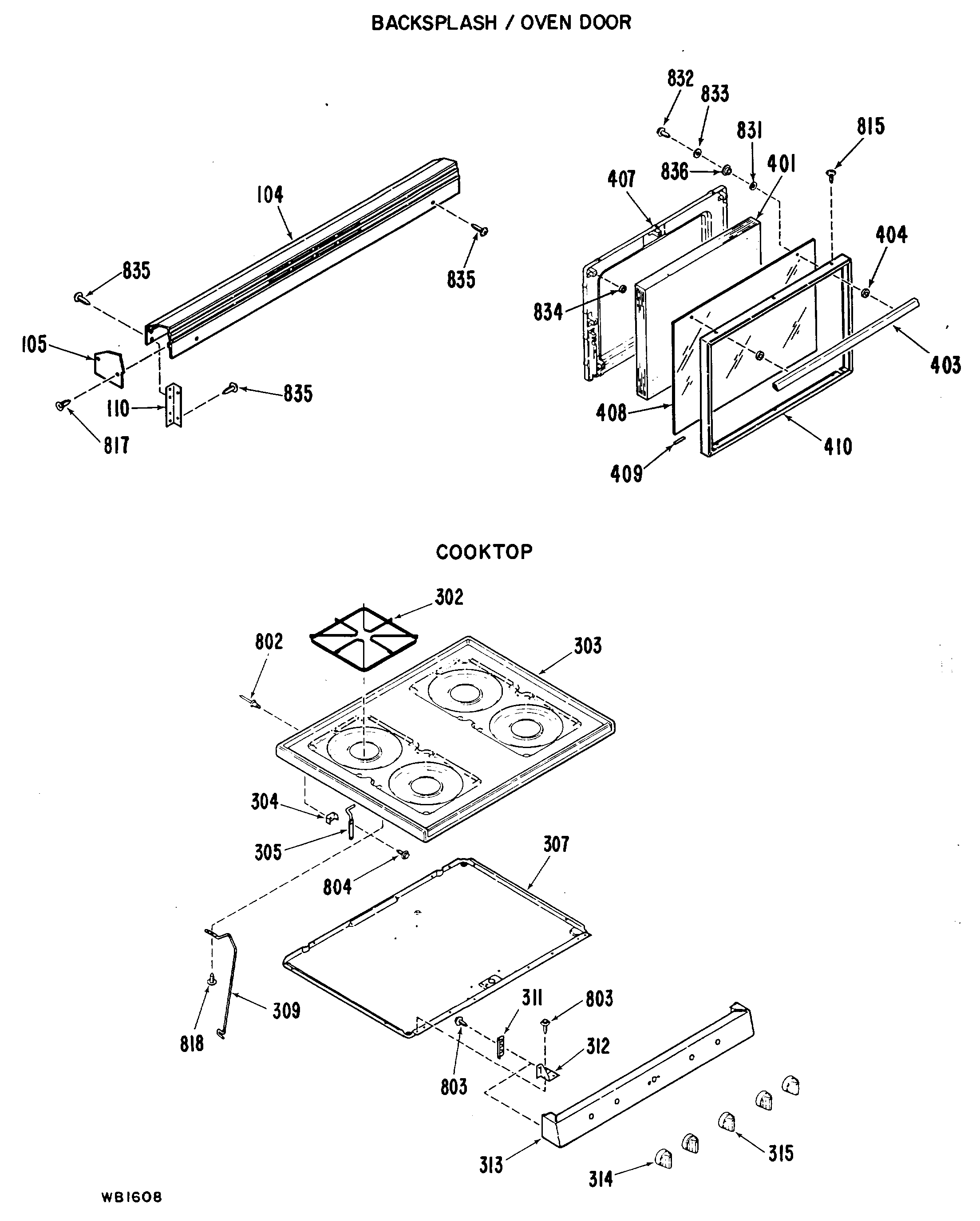
JGSS05GEK1 BACKSPLASH/OVEN DOOR