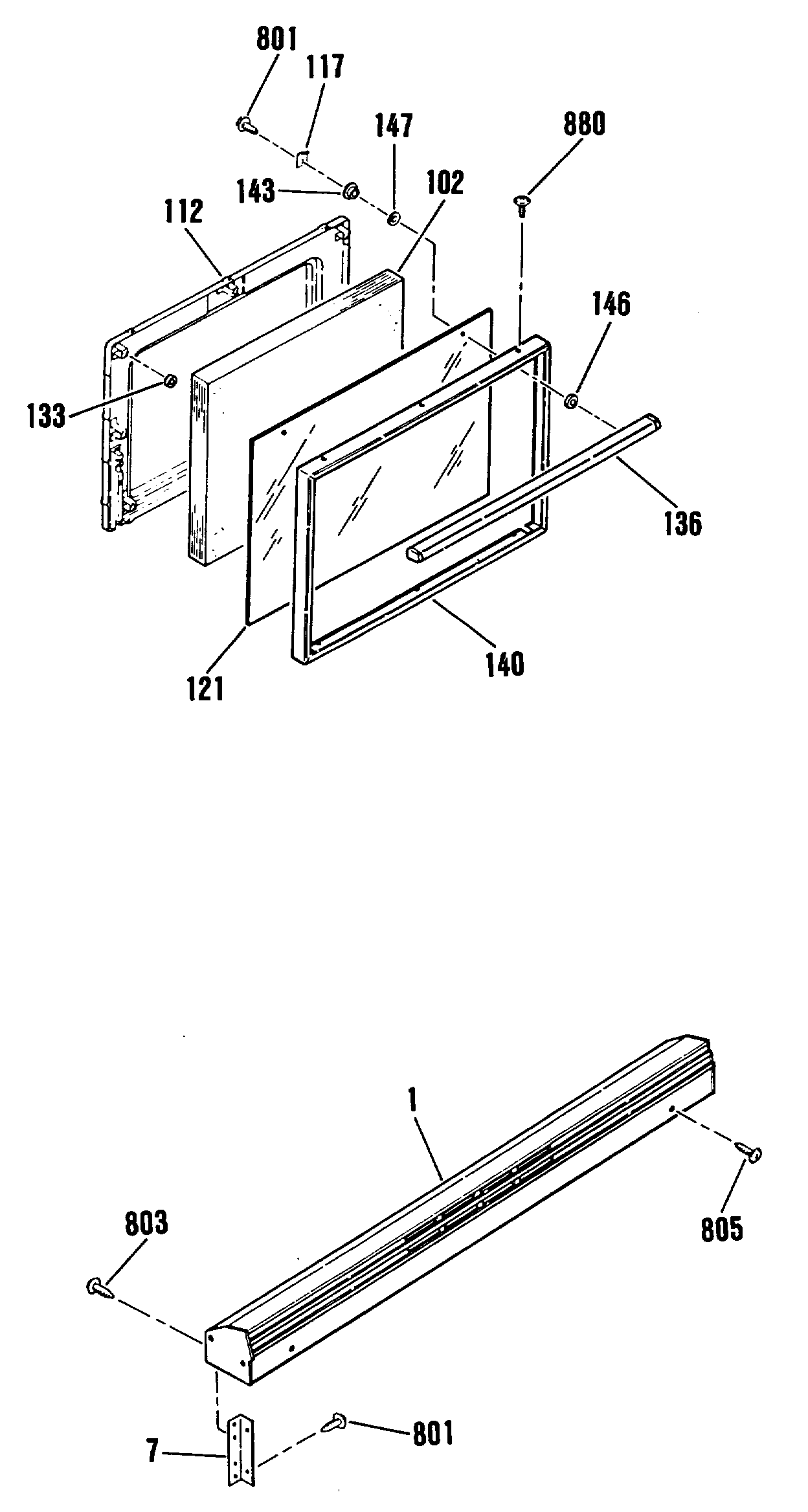
JGSS05GEK2 2admin2025-04-26T08:44:49+00:00JGSS05GEK2 2 ProductsPositionProduct1GEN WB61X03587GEN WB02X9108102UNKNOWN112GEN WB55M0004117OV DR GLASS RETAINER121OV DOOR OUTER GLASS133FELT WASHER136OV DOOR HANDLE140OUTER FRAME-OVEN DOOR143UNKNOWN146DOOR HANDLE SPACER146DOOR HANDLE SPACER-BLACK147GEN WB01X1140801WB1M1 GE Oven Screw803WB1X1149 GE Oven Screw805GEN WB01X1113880WB1K5191 GE Oven Zinc FL Screw