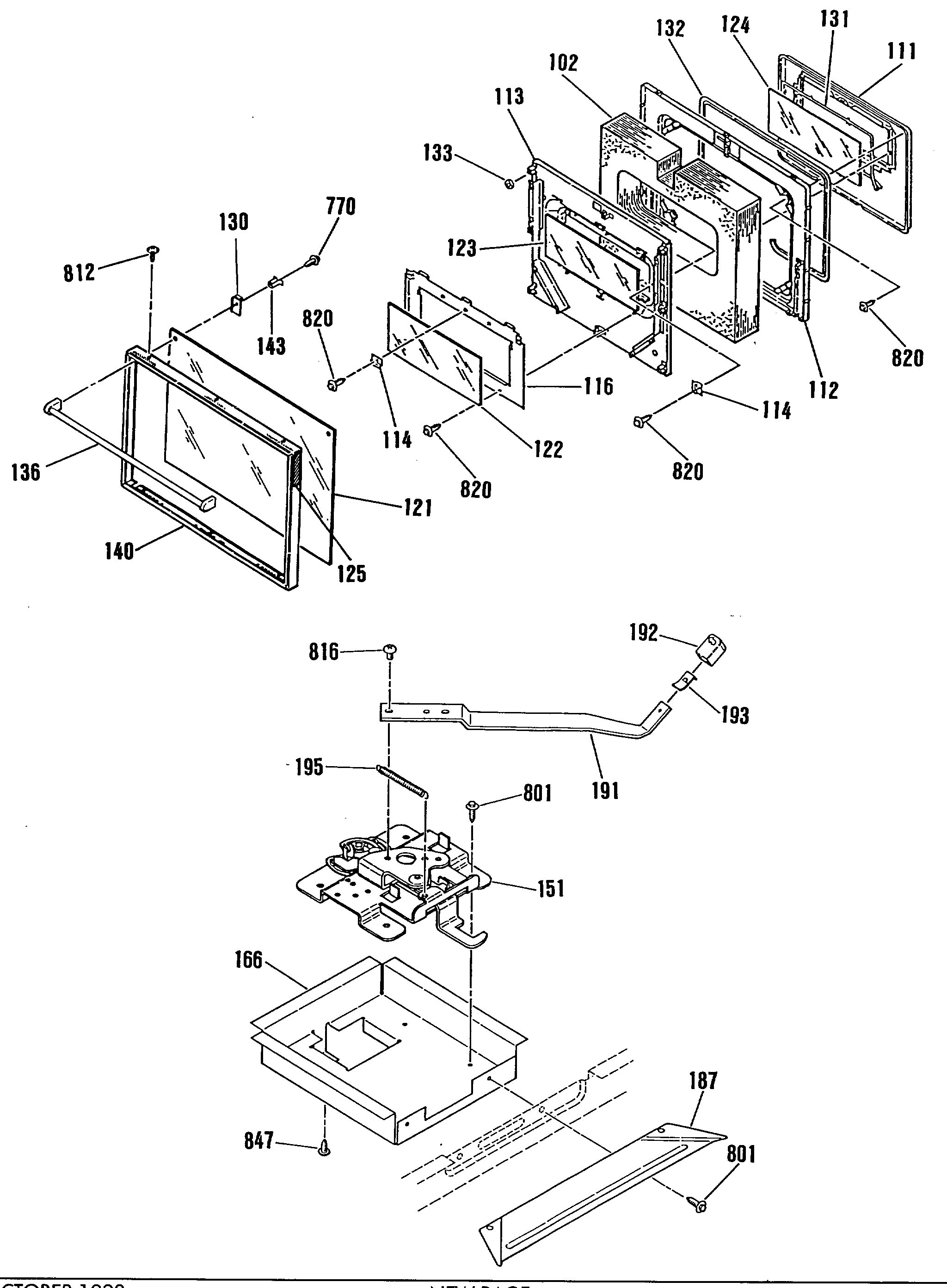
| 102 | GEN WB35K5082 |
| 111 | GEN WB55X5286 |
| 111 | GEN WB55M0010 |
| 112 | LINER & CHOKE ASM. |
| 112 | GEN WB55K5033 |
| 113 | GEN WB02M0056 |
| 114 | GEN WB02M0001 |
| 116 | GEN WB02X9178 |
| 121 | DOOR SCREEN-M/W |
| 122 | GEN WB57K5102 |
| 123 | CENTER GLASS |
| 124 | FILM-LINER & CHOKE ASM. |
| 124 | GEN WB57K5063 |
| 125 | GEN WB35K5031 |
| 130 | GEN WB02K5150 |
| 131 | WB2X9168 GE Oven Seal |
| 132 | WB2K5319 GE Oven Door Gasket |
| 133 | FELT PAD |
| 136 | DOOR HANDLE M/W |
| 136 | OV DR HANDLE |
| 140 | DOOR TRIM-M/W |
| 140 | OV DR FRAME W/OVERLAY |
| 140 | GEN WB56M0012 |
| 143 | GEN WB02M0046 |
| 143 | DOOR SASH LEFT M/W |
| 151 | GEN WB10X0268 |
| 166 | GEN WB58M0002 |
| 187 | GEN WB34K5169 |
| 191 | LOCK HANDLE |
| 192 | LOCK KNOB |
| 193 | KNOB CLIP |
| 195 | LOCK SPRING |
| 770 | WB1K5072 GE Oven Screw |
| 801 | WB1M1 GE Oven Screw |
| 812 | WB1K5191 GE Oven Zinc FL Screw |
| 816 | GEN WB01X1125 |
| 820 | WB1X1424D GE Oven Screw Package |
| 847 | WB1X1118 GE Oven Screw 6-32T |