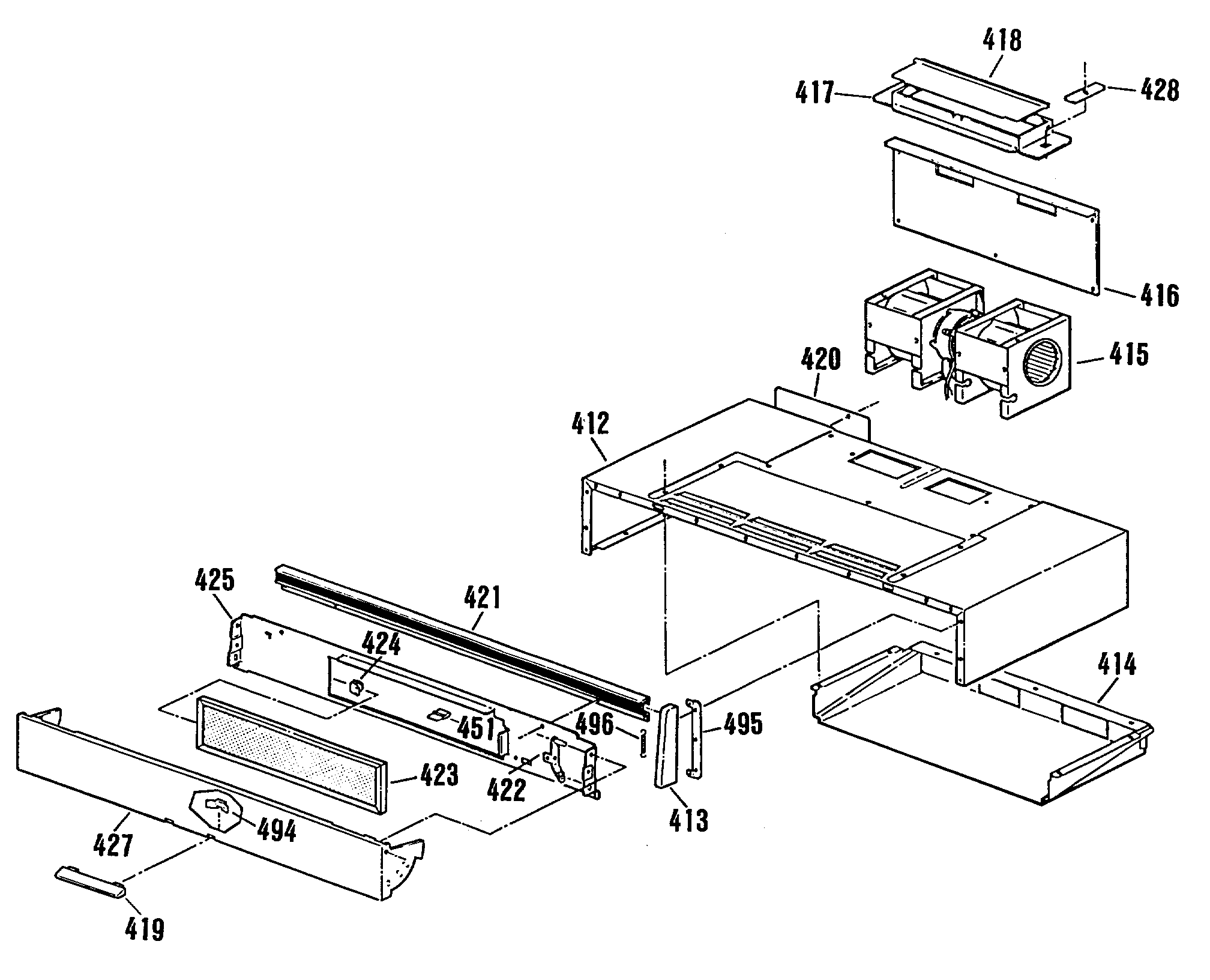
JHP62GN3WH 3