JHP62GN5WH 3
Products
| Position | Product |
|---|---|
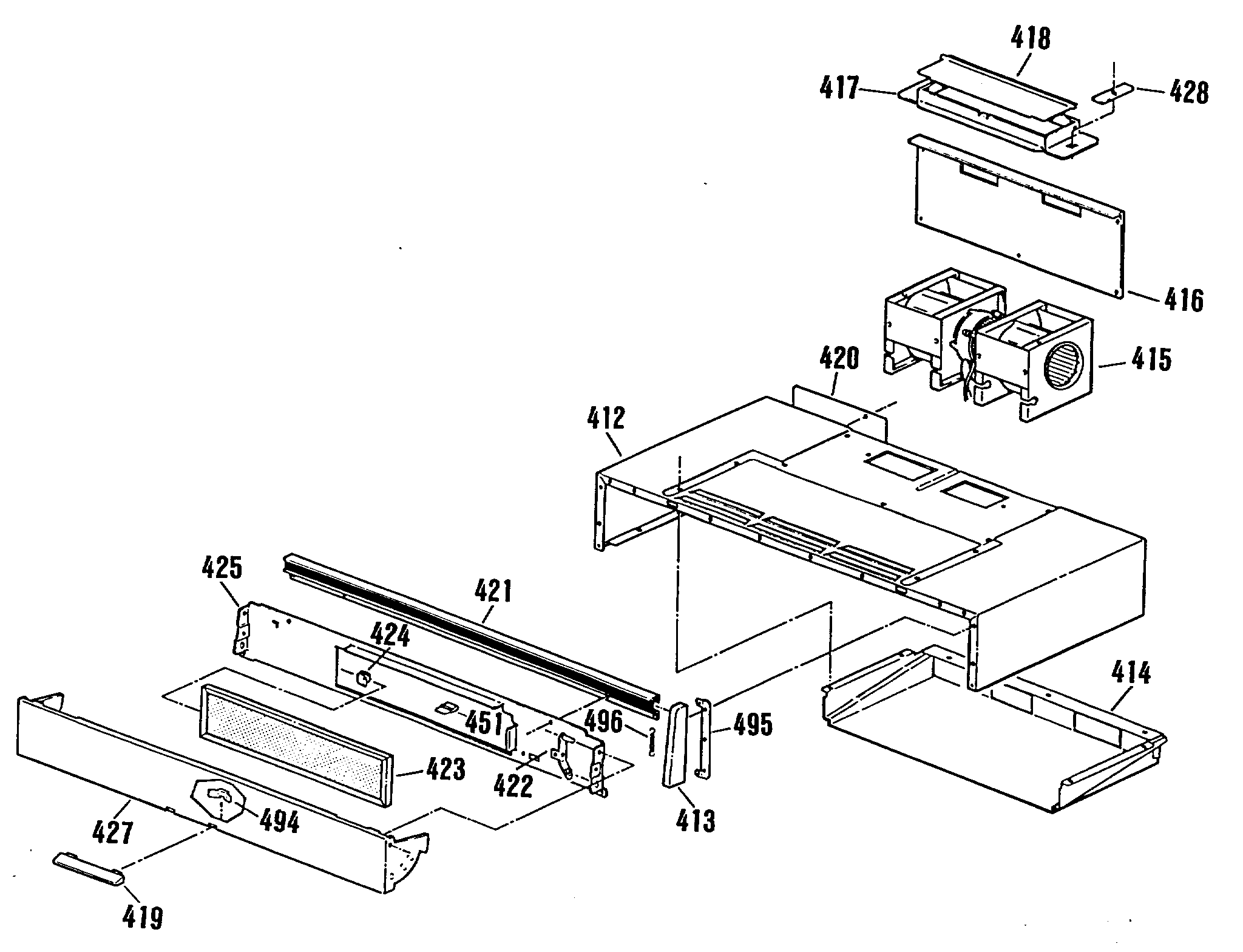
| 412 | GEN WB38K5023 |
| 413 | BASE-M/W |
| 413 | END CAP-LT |
| 413 | END CAP-RT |
| 414 | PLENUM |
| 415 | BLOWER ASM |
| 416 | RECEPTACLE PROBE-M/W |
| 416 | HOUSING COVER |
| 417 | GEN WB38K5025 |
| 418 | GEN WB02X7764 |
| 419 | HOOD PANEL HANDLE |
| 420 | GEN WB02X2017 |
| 421 | ANTENNA-M/W |
| 421 | HOOD TRIM |
| 422 | GEN WB02X7216 |
| 423 | GEN WB02X7758 |
| 424 | GEN WB02X1583 |
| 424 | SHELF-M/W |
| 425 | FILTER PLATE |
| 427 | GEN WB56X6084 |
| 427 | MOTOR, STIRRER-M/W |
| 428 | SUPPORT RACK-M/W |
| 428 | GEN WB02X7765 |
| 451 | FILTER CLIP |
| 451 | GEN WB03X5761 |
| 494 | CLIP MTG EXHAUST GUIDE |
| 494 | RETAINER CLIP |
| 495 | MOUNTING BRACKET |
| 496 | SPRING DOOR KEY-M/W |
| 496 | GEN WB09X5099 |