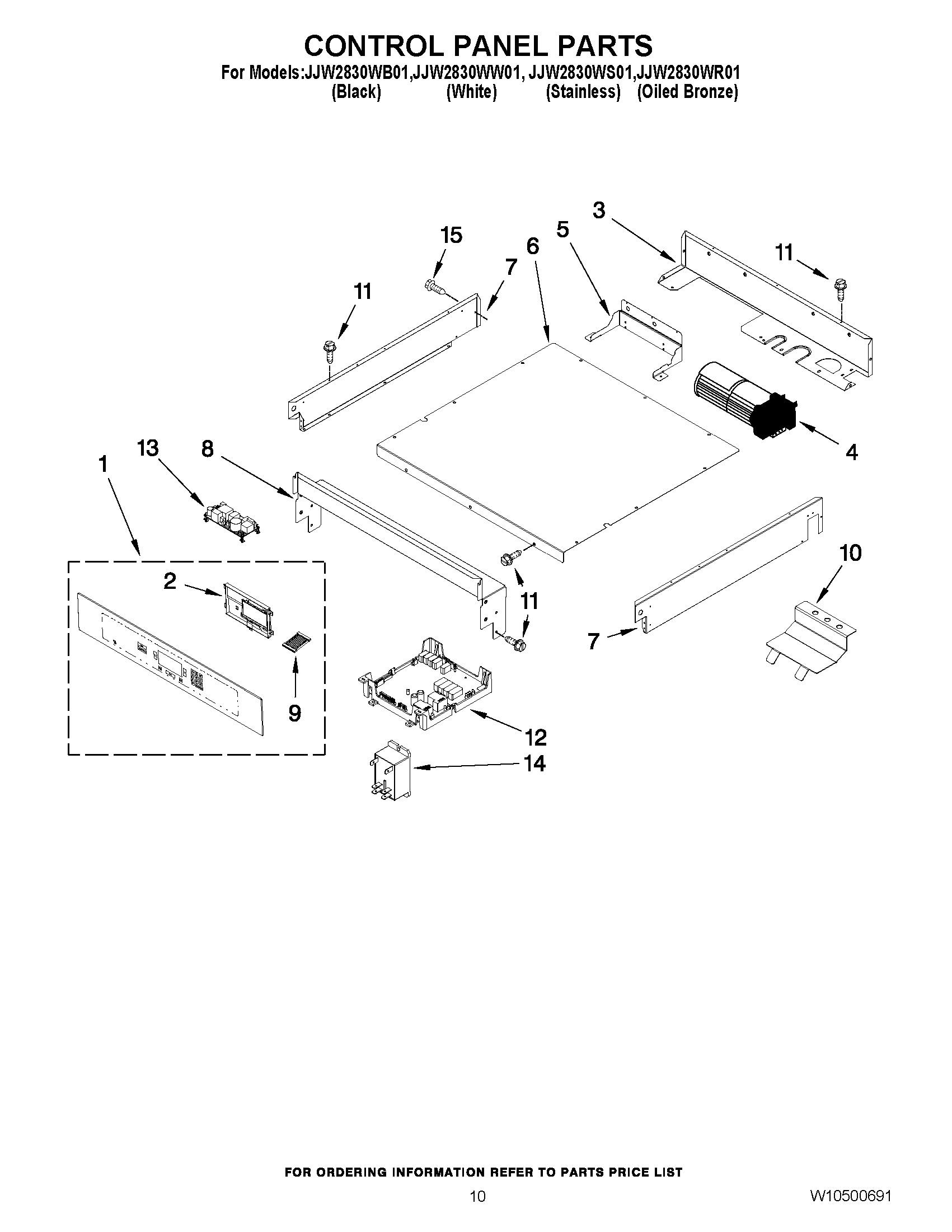
JJW2830WR01 06 – CONTROL PANEL PARTSadmin2025-04-26T09:25:31+00:00JJW2830WR01 06 – CONTROL PANEL PARTS ProductsPositionProduct1MAY W103441341MAY W103441351MAY W103441361MAY W103441372ASSY., UI EXTENDED3MAY W101870484BLOWER (UPPER)4MAY W102736665BRACKET, COOLING FAN UPPER5MAY W101870166MAY W101761807PANEL, CONTROL BOX (LEFT SIDE)7PANEL, CONTROL BOX (RIGHT SIDE)8SUPPORT, TOP CNTRL9MAY W1017582910MAY W1017624311MAY 7101P426- 6012MAY W1029256813CONTROL, ELEC14RELAY15MAY W10236043