JJW3830DP01 02 – CONTROL PANEL PARTSadmin2025-04-26T09:32:19+00:00JJW3830DP01 02 – CONTROL PANEL PARTS
Products
| Position | Product |
|---|
| NI | CLIP, HARNESS |
| NI | TIE, CABLE |
| NI | HARNESS, EOL |
| NI | BRACKET, HARNESS |
| NI | MAY W10775068 |
| NI | STRAP, LEAD GROUND |
| NI | MAY W10679413 |
| NI | CLAMP, CONDUIT |
| NI | MAY W10522152 |
| NI | HARNESS, MAIN |
| NI | ASSEMBLY, ANTENNA & HOUSING |
| NI | LINER (NOT A SERVICEABLE PART) |
| NI | MAY 4450800 |
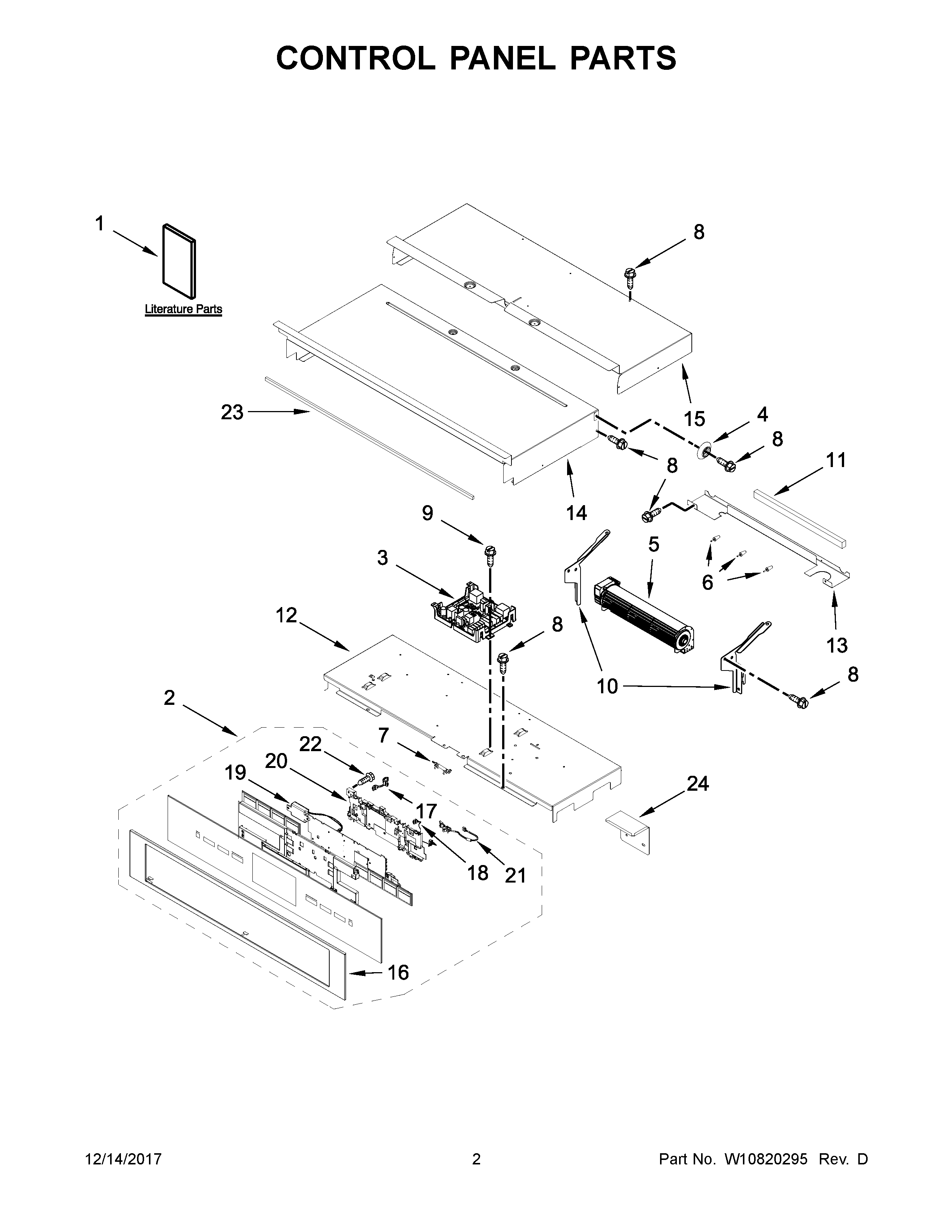
| 1A | INSTRUCTIONS, INSTALLATION |
| 1B | SHEET, TECH |
| 1C | GUIDE, WIFI CONNECTIVITY |
| 1 | GUIDE, USE & CARE |
| 2 | ASSEMBLY, CONTROL PANEL (STAINLESS) |
| 3 | MANAGER, APPLIANCE |
| 4 | SPACER, LATERAL |
| 5 | BLOWER |
| 6 | MAY W10351295 |
| 7 | FUSE, THERMAL |
| 8 | MAY 7101P426- 60 |
| 9 | MAY 7101P434-60 |
| 10 | BRACKET, BLOWER (LEFT) |
| 10A | BRACKET, BLOWER (RIGHT) |
| 11 | BLOCK, FOAM |
| 12 | TRAY, ELECTRONIC |
| 13 | CHASSIS, BACK DIVIDER |
| 14 | CHASSIS, COVER TOP FRONT 30 |
| 15 | CHASSIS, COVER TOP BACK 30" |
| 16 | SKIN, CONTROL PANEL (STAINLESS) |
| 17 | HARNESS, KEYPAD (LEFT TO CENTER) |
| 18 | HARNESS, KEYPAD (RIGHT TO CENTER) |
| 19 | ASSEMBLY, SPEAKER |
| 20 | HOUSING |
| 21 | JUMPER HARNESS, POWER SUPPLY |
| 22 | MAY W10489172 |
| 23 | GASKET, RUBBER |
| 24 | SHIELD, WIFI ACCESS |