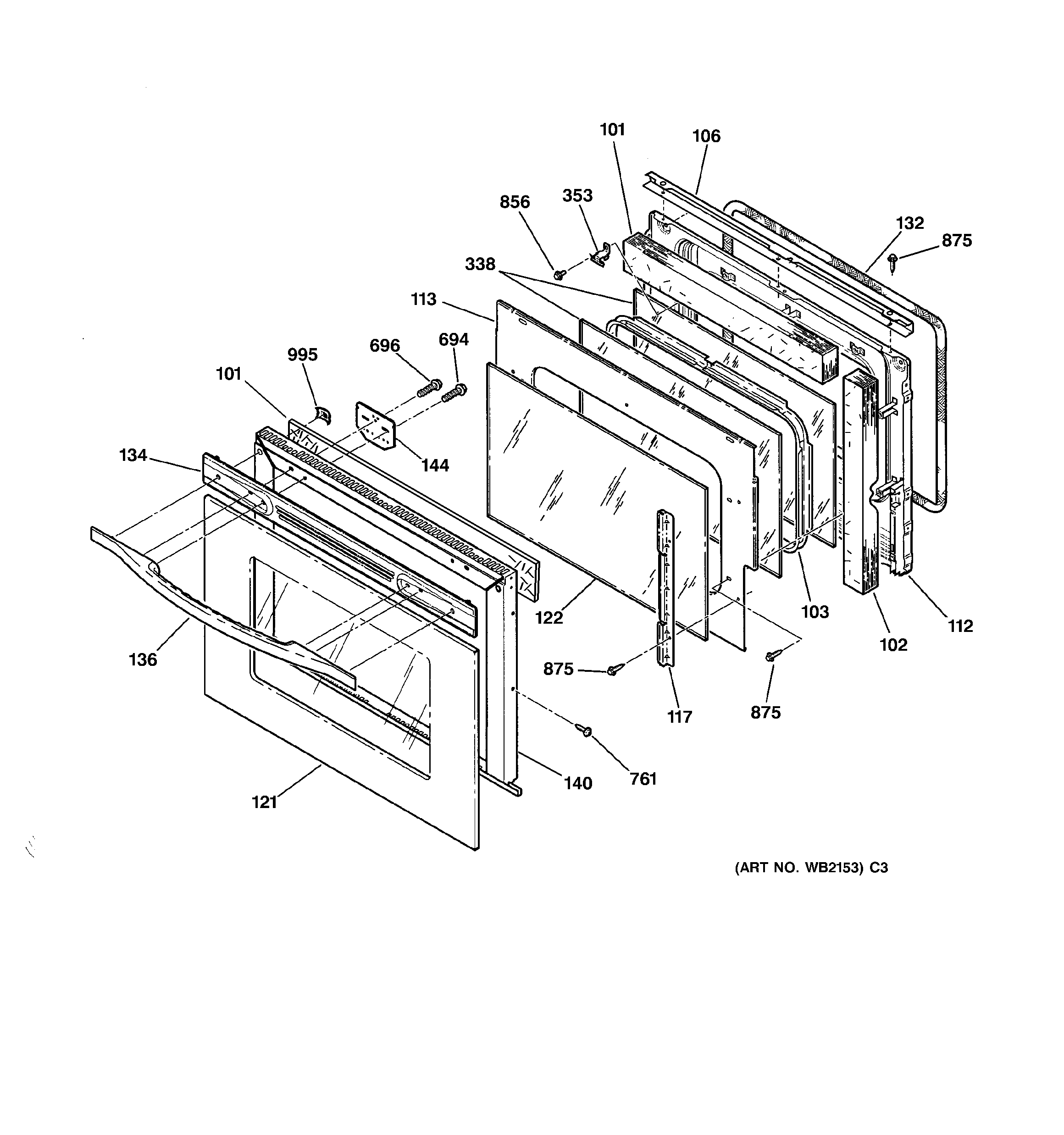
| 101 | WB35K5097 GE Oven Door Insulation SD |
| 103 | WB02T10015 GE Oven Window Spacer |
| 106 | GEN WB07T10061 |
| 112 | WB55T10058 GE Oven Door Lining Retainer |
| 113 | WB02T10016 GE Door Insulation Retainer |
| 117 | WB56T10373 GE Oven Door Retainer Kit |
| 121 | GEN WB57T10105 |
| 122 | GEN WB57T10079 |
| 132 | WB32T10006 GE Oven Door Gasket |
| 134 | GEN WB07T10154 |
| 136 | GEN WB15T10025 |
| 140 | GEN WB55T10062 |
| 144 | WB2K5395 GE Oven Reinforcement Plate |
| 338 | GEN WB56T10004 |
| 353 | WB2X8320 GE Oven Window Clip |
| 694 | WB1K5157 GE Oven Black Screw |
| 696 | GEN WB01T10013 |
| 761 | WB1K5062 GE Oven Screw |
| 856 | WB1X1293 GE Oven Screw |
| 875 | WH2X930 GE Screw |
| 995 | GEN WB01M0040 |