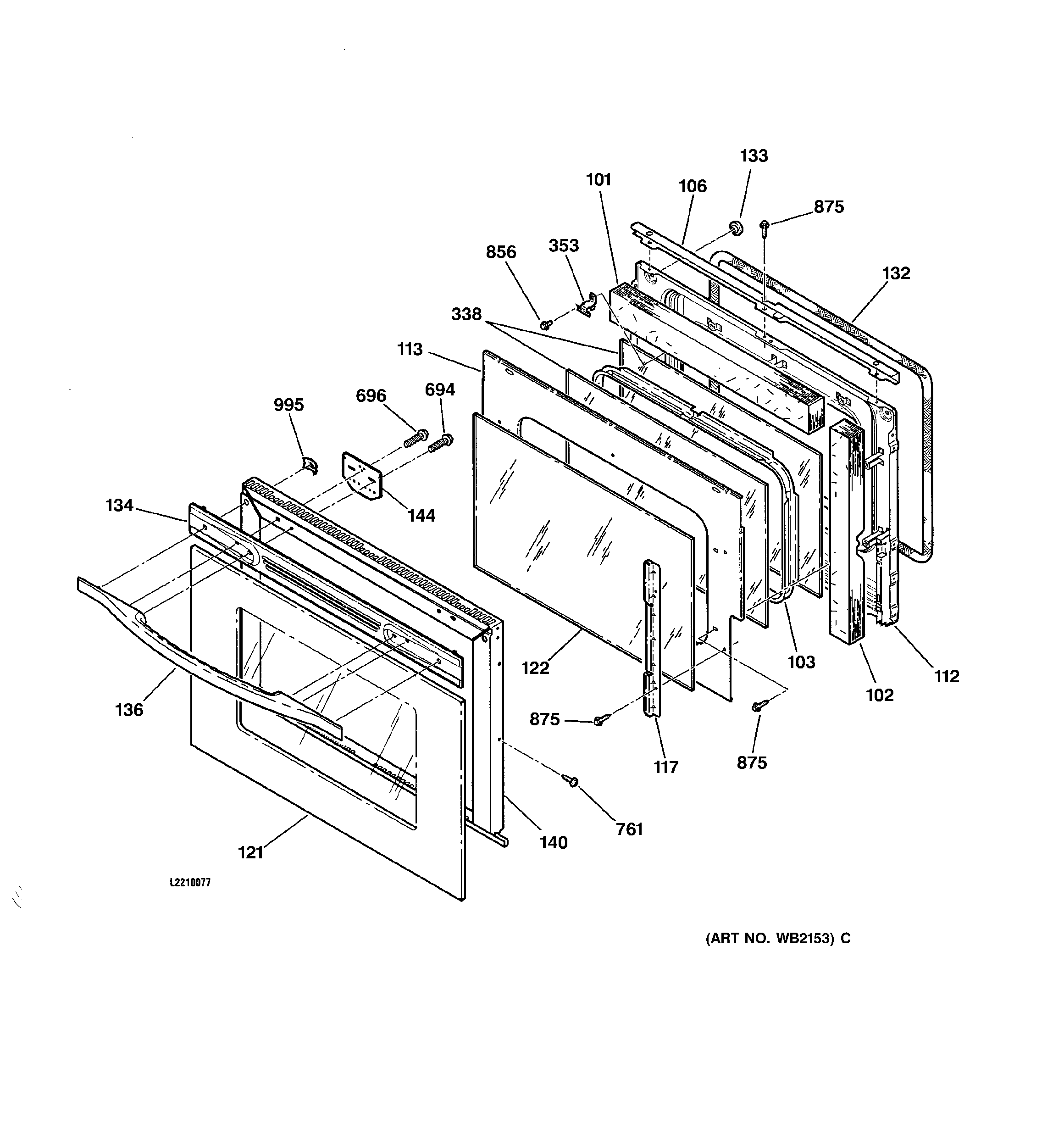
JK950WA2WW DOOR