| 1 | GEN WB36K5450 |
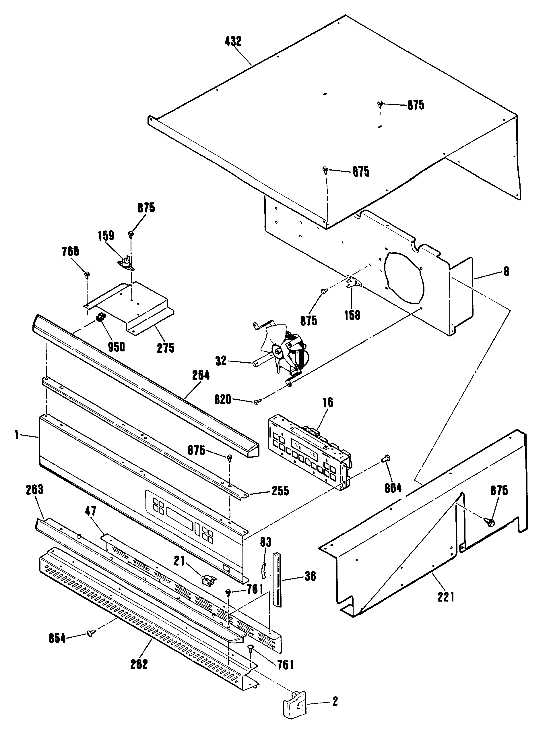
| 2 | GEN WB36K5101 |
| 2 | GEN WB36K5102 |
| 8 | GEN WB02K5257 |
| 16 | GEN WB27K5190 |
| 21 | WB24K5035 GE Oven Rocker Switch |
| 32 | GEN WB26K5045 |
| 36 | GEN WB07K5185 |
| 36 | GEN WB07K5184 |
| 47 | WB38K5029 GE Oven Vent Barrier |
| 83 | GEN WB09K5008 |
| 125 | GEN WB34K5203 |
| 151 | WB49T10020 GE Stove Range Oven Lock Motor Latch Assembly |
| 158 | WB24K5085 GE Oven Limit Switch |
| 159 | WB24K5033 GE Oven Limit Switch |
| 221 | SIDE EXTENSION-LT-UPPER |
| 221 | SIDE EXTENSTION-RT-UPPER |
| 255 | GEN WB07K5280 |
| 262 | VERTICAL SIDE TRM-RT-BLK |
| 262 | WB7K5101 GE Oven Vent Trim |
| 262 | VERTICAL SIDE TRM-LT-BLK |
| 263 | WB7K5378 GE Oven Brow Trim |
| 264 | GEN WB07K5272 |
| 275 | WB34K5078 GE Oven Vent Box Cover |
| 432 | GEN WB63K5081 |
| 755 | WZ4X44D GE Screw Package |
| 760 | WB1X536 GE Oven Screw |
| 761 | WB1K5029 GE Oven Screw |
| 804 | WB1X681 GE Oven Screw |
| 854 | GEN WB01X1328 |
| 854 | SCREW-BRT. NI. |
| 875 | WH2X930 GE Screw |
| 927 | WB1X119D GE Oven Range Washer |
| 950 | CABLE CLIP |
| 999 | GEN 49-8568 |
| 999 | GEN WB18K5450 |
| 999 | GEN 31-13176 |
| 999 | GEN WB18K5210 |
| 999 | GEN 31-10119 |