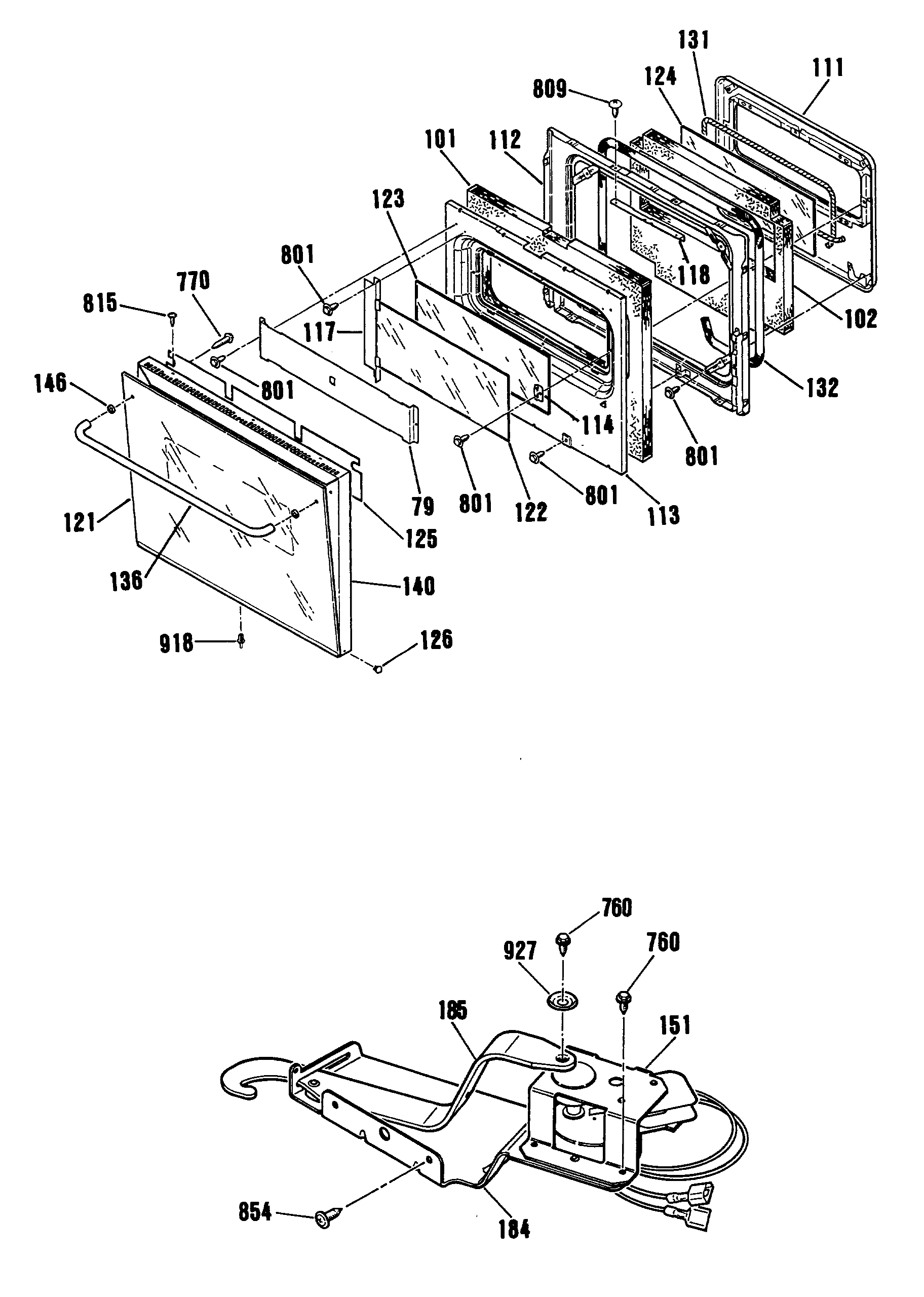
| 79 | WB34K5077 GE Oven Door Baffle |
| 101 | WB35K5054 GE Oven Door Insulation |
| 102 | DOOR PLUG INSULATION |
| 111 | OV DR LINING PLUG-UPPER |
| 112 | GEN WB55K5017 |
| 113 | GEN WB02K5127 |
| 114 | GEN WB02M0001 |
| 117 | GEN WB02K5131 |
| 118 | GEN WB02K5215 |
| 122 | GEN WB57K5102 |
| 123 | OVEN DOOR GLASS-CENTER |
| 124 | GEN WB57K5063 |
| 125 | GEN WB34K5091 |
| 126 | GEN WB03K5077 |
| 131 | WB2X9168 GE Oven Seal |
| 132 | WB32K5038 GE Oven Door Gasket |
| 136 | GEN WB15K5048 |
| 140 | OV DR FRAME ASM |
| 146 | DR HANDLE SPACER-WHT |
| 151 | WB49T10020 GE Stove Range Oven Lock Motor Latch Assembly |
| 184 | WB34K5228 GE Oven Door Lock Plate |
| 185 | WB15K5016 GE Oven Lock Lever Assembly |
| 760 | WB1X536 GE Oven Screw |
| 770 | WB1K5072 GE Oven Screw |
| 801 | WB1M1 GE Oven Screw |
| 809 | WB1X1137 GE Oven Screw |
| 815 | WB1X1149 GE Oven Screw |
| 854 | SCREW-BRT. NI. |
| 918 | WB1K5071 GE Oven Plastic Rivet |
| 927 | WB1X119D GE Oven Range Washer |