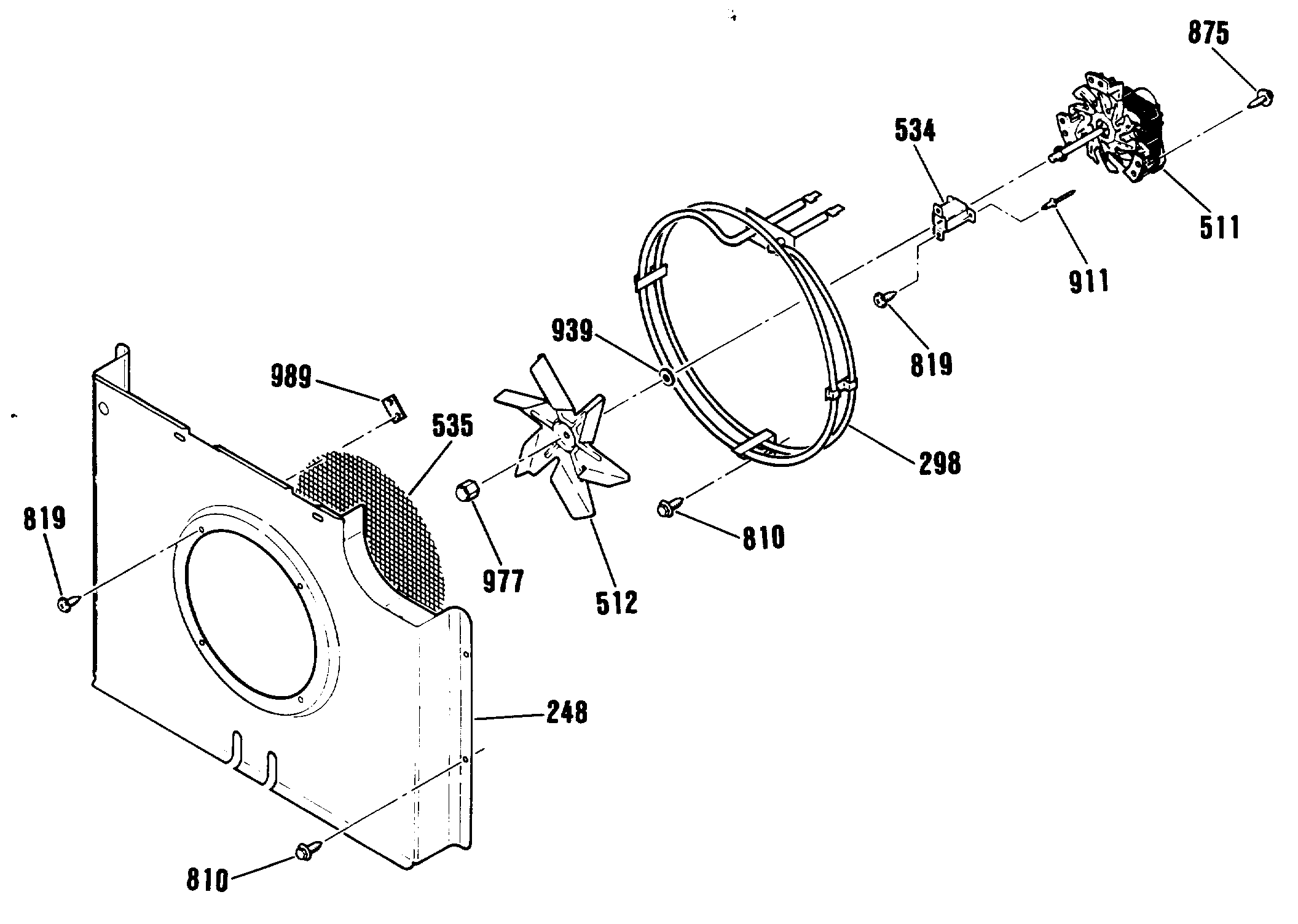
| 248 | GEN WB63K5137 |
| 298 | GEN WB44K5014 |
| 511 | WB26K5069 GE Oven Convection Fan Motor |
| 512 | WB2X8351 GE Oven Blade Fan |
| 534 | GEN WB26K5039 |
| 535 | GEN WB26K5042 |
| 810 | WB1X1130 GE Oven Screw 10-32 |
| 819 | WB1X1118 GE Oven Screw 6-32T |
| 875 | GEN WB01K5057 |
| 939 | GEN WB01K5126 |
| 977 | WB2X8454 GE Oven Nut |
| 989 | GEN WB01K5084 |