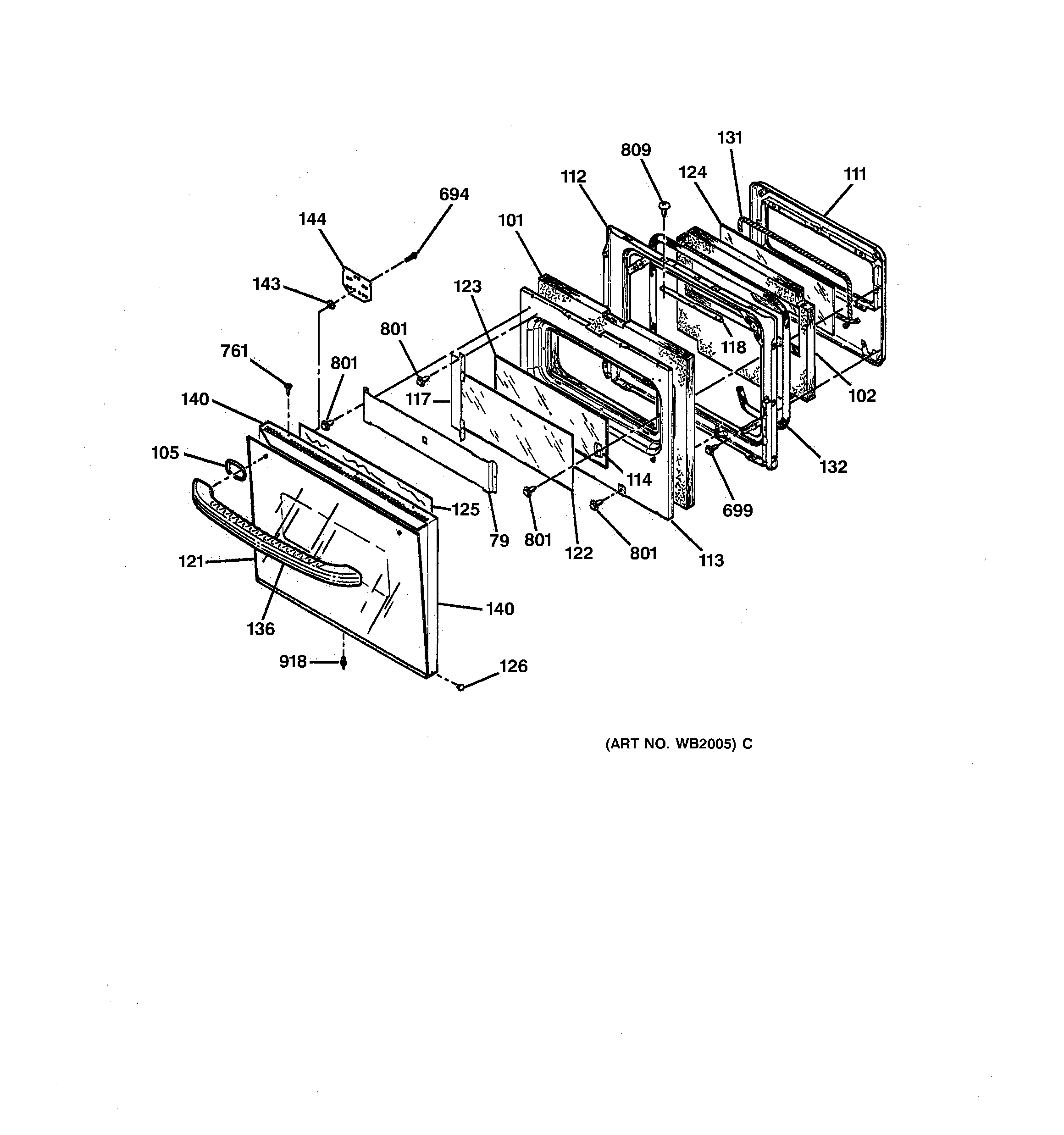
JKP18AW1AA OVEN DOOR