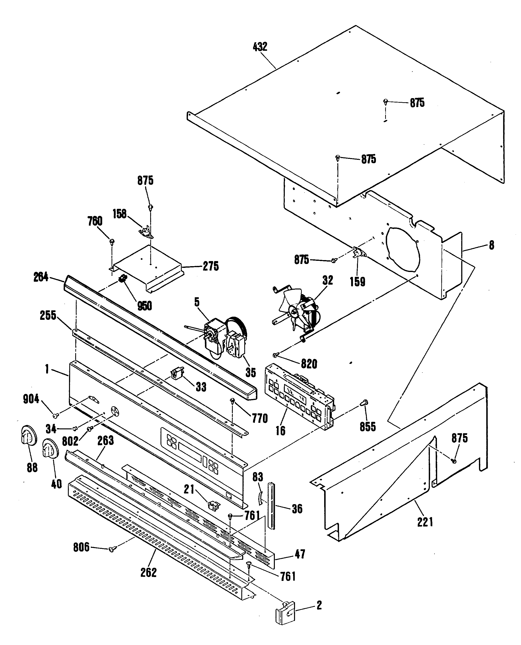
| 1 | GEN WB36K5120 |
| 2 | GEN WB36K5108 |
| 2 | GEN WB36K5107 |
| 5 | THERMOSTAT |
| 8 | GEN WB02K5257 |
| 8 | FAN SUPPORT-LOWER |
| 16 | GEN WB27K5040 |
| 21 | GEN WB24K5036 |
| 32 | GEN WB26K5045 |
| 33 | WB25T10039 GE Oven Light Indicator |
| 34 | LENS |
| 35 | GEN WB24K5040 |
| 36 | GEN WB07K5056 |
| 36 | GEN WB07K5055 |
| 40 | GEN WB03K5053 |
| 47 | WB38K5029 GE Oven Vent Barrier |
| 83 | GEN WB09K5008 |
| 88 | GEN WB03K5054 |
| 158 | WB24K5033 GE Oven Limit Switch |
| 159 | WB24K5085 GE Oven Limit Switch |
| 221 | CAB SIDE EXTENSION-LOW |
| 221 | SIDE EXTENSION-LT-UPPER |
| 221 | SIDE EXTENSTION-RT-UPPER |
| 255 | OVERLAY TRIM 27"-WHT |
| 262 | GEN WB07K5205 |
| 262 | GEN WB07K5204 |
| 262 | GEN WB07K5102 |
| 263 | TRIM-I BROW GRAY-UP |
| 263 | TRIM-I BROW GRAY-LO |
| 264 | GEN WB07K5199 |
| 275 | WB34K5078 GE Oven Vent Box Cover |
| 432 | GEN WB63K5081 |
| 760 | WB1X536 GE Oven Screw |
| 761 | WB1K5134 GE Gray Screw |
| 761 | WB1K5062 GE Oven Screw |
| 761 | WB1K5029 GE Oven Screw |
| 770 | WB1K5072 GE Oven Screw |
| 802 | GEN WB01K5123 |
| 806 | SCREW-BRT. NI. |
| 820 | WB1X1424D GE Oven Screw Package |
| 855 | GEN WB01X1295 |
| 875 | GEN WB01K5057 |
| 904 | GEN WB01X5550 |
| 950 | CABLE CLIP |
| 999 | GEN 31-10058 |
| 999 | GEN WB18K5226 |
| 999 | GEN 49-8358 |
| 999 | GEN WB18K5210 |
| 999 | GEN 31-13092 |