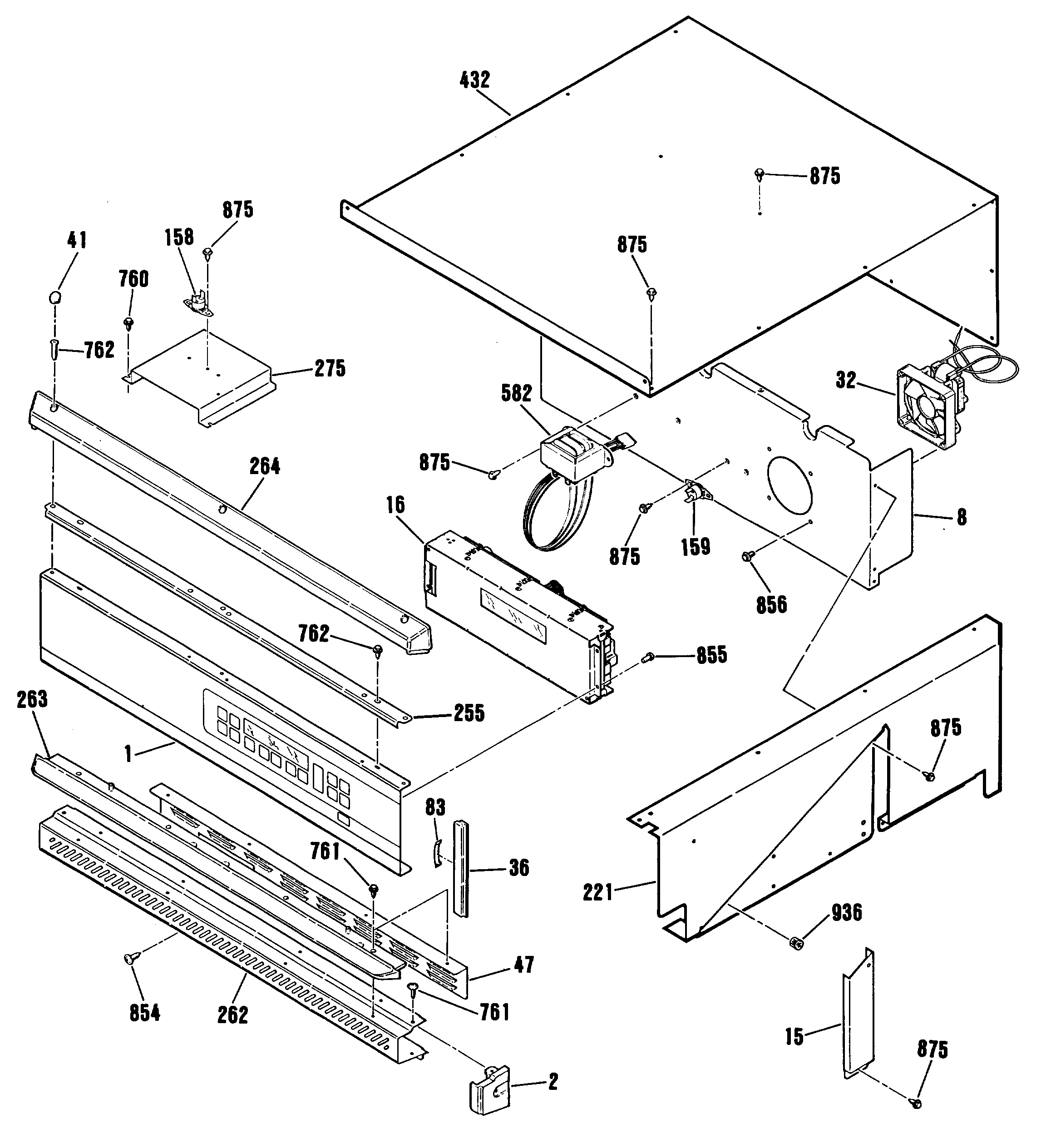
JKP44GP1 1