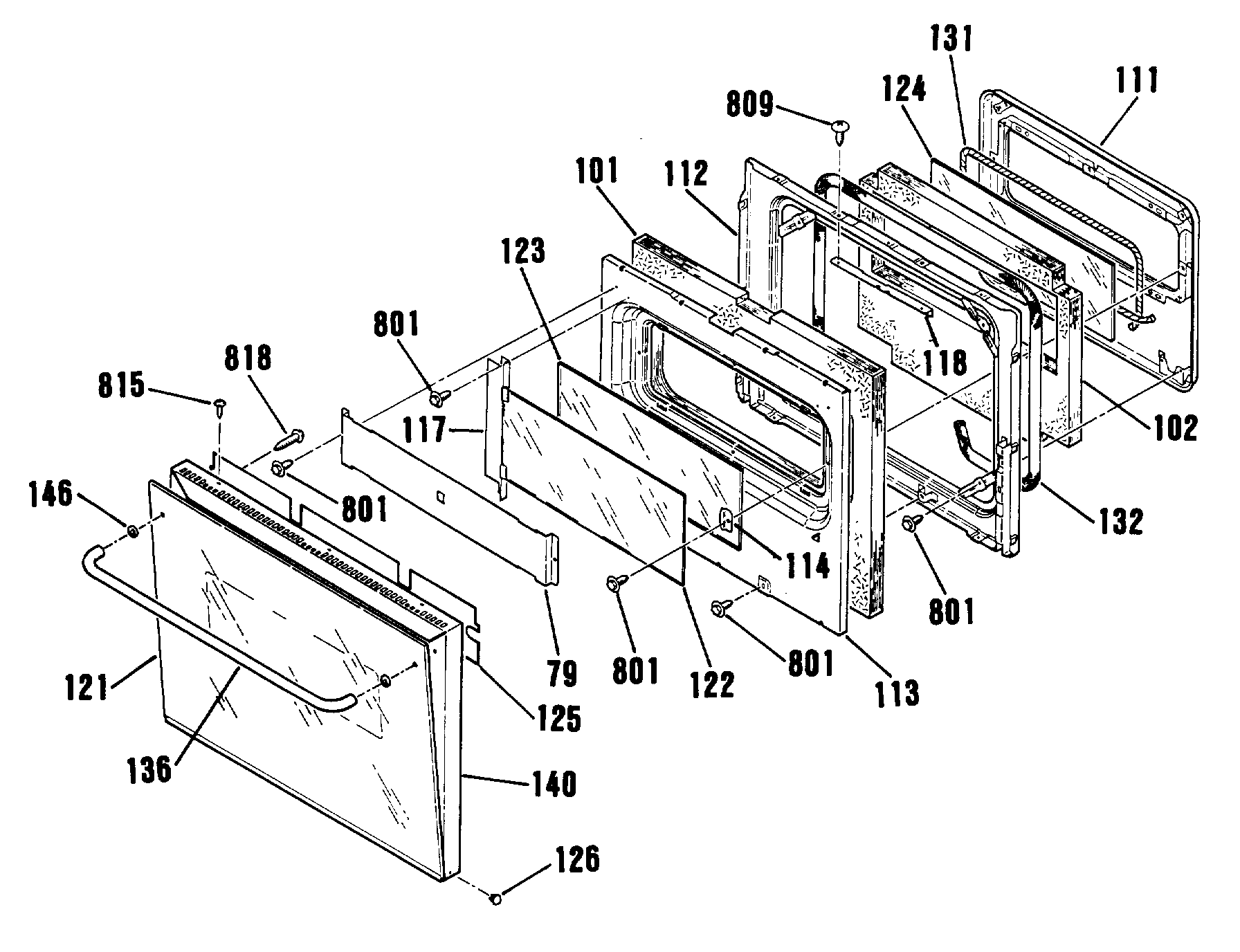
JKP45WP1 0