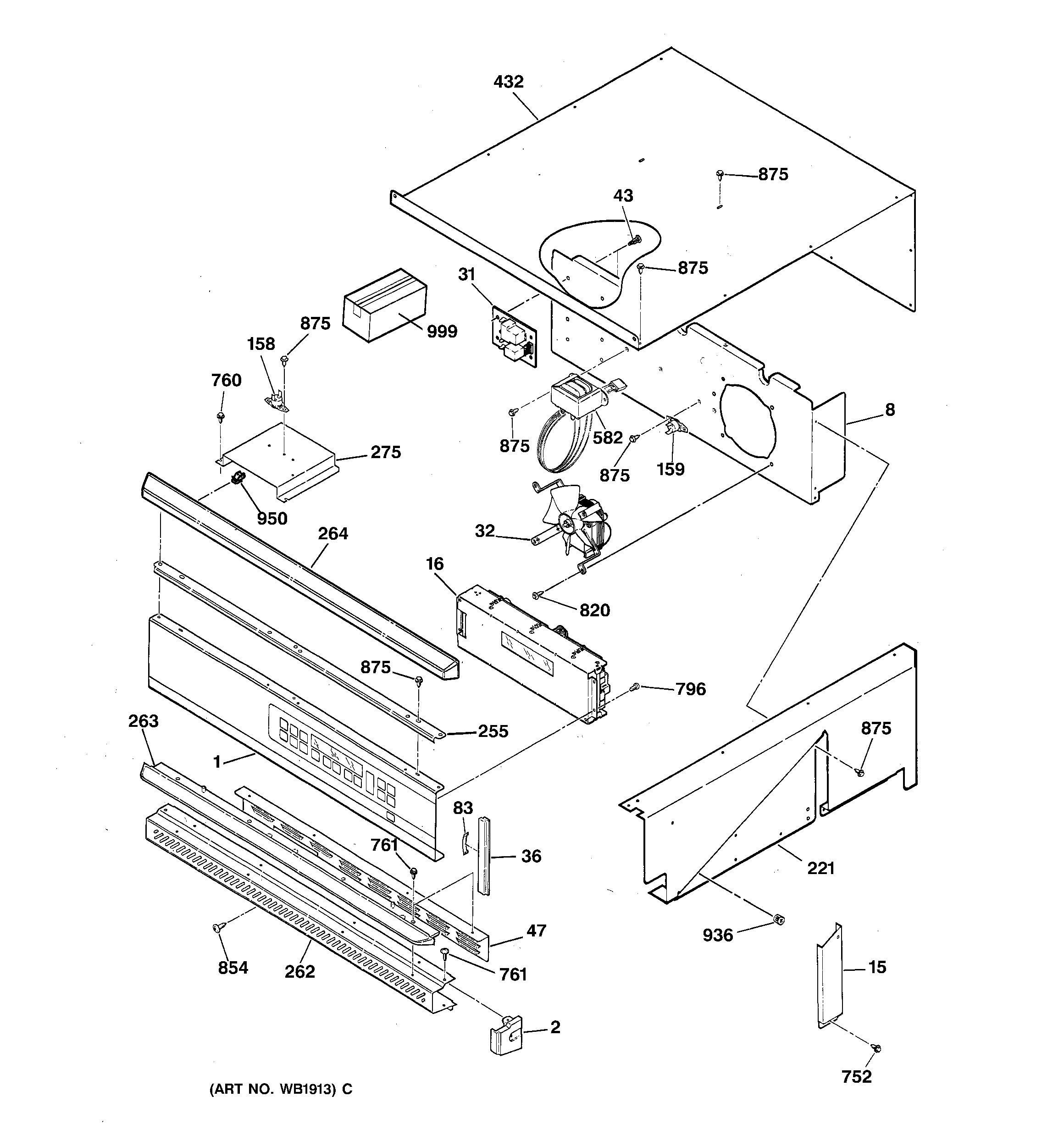
JKP54GV1BB CONTROL PANEL