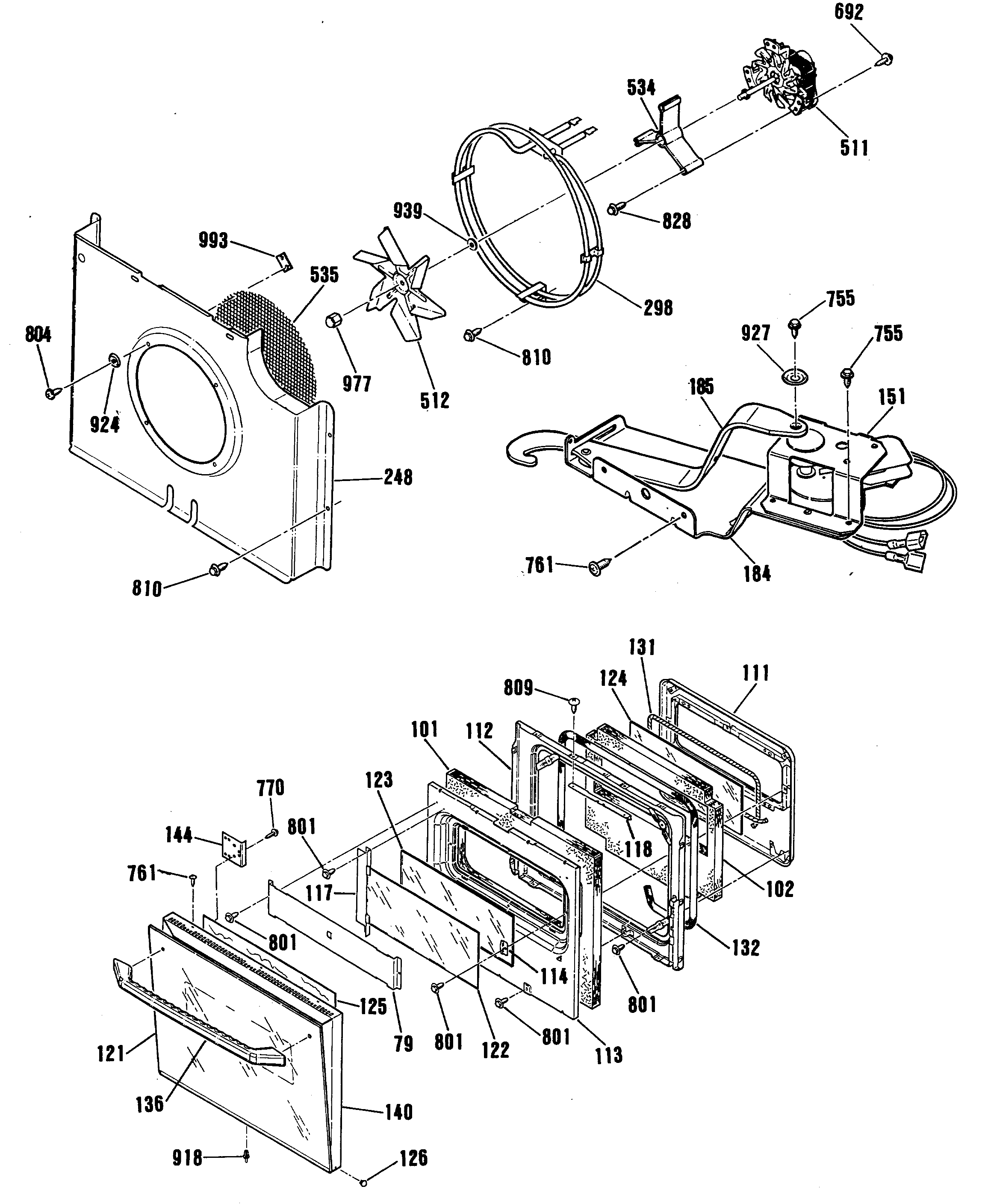
| 79 | WB34K5077 GE Oven Door Baffle |
| 101 | WB35K5054 GE Oven Door Insulation |
| 102 | DOOR PLUG INSULATION |
| 111 | OV DR LINING PLUG-UPPER |
| 112 | GEN WB55K5017 |
| 113 | GEN WB02K5127 |
| 114 | GEN WB02M0001 |
| 117 | GEN WB02K5131 |
| 118 | GEN WB02K5215 |
| 121 | GEN WB57K5251 |
| 122 | GEN WB57K5102 |
| 123 | OVEN DOOR GLASS |
| 124 | GEN WB57K5063 |
| 125 | GEN WB34K5203 |
| 126 | GEN WB03K5077 |
| 131 | WB2X9168 GE Oven Seal |
| 132 | WB32K5038 GE Oven Door Gasket |
| 136 | GEN WB15K5086 |
| 140 | GEN WB55K5048 |
| 144 | GEN WB02K5316 |
| 151 | WB49T10020 GE Stove Range Oven Lock Motor Latch Assembly |
| 184 | WB34K5228 GE Oven Door Lock Plate |
| 185 | WB15K5016 GE Oven Lock Lever Assembly |
| 248 | GEN WB63K5137 |
| 298 | GEN WB44K5029 |
| 511 | WB26K5069 GE Oven Convection Fan Motor |
| 512 | WB2X8351 GE Oven Blade Fan |
| 534 | GEN WB26K5050 |
| 535 | GEN WB26K5042 |
| 692 | SCREW |
| 694 | WB1K5157 GE Oven Black Screw |
| 755 | WZ4X44D GE Screw Package |
| 761 | WB1K5062 GE Oven Screw |
| 801 | WB1M1 GE Oven Screw |
| 804 | WB1X681 GE Oven Screw |
| 809 | WB1X1137 GE Oven Screw |
| 810 | WB1X1130 GE Oven Screw 10-32 |
| 828 | WB1X1141 GE Oven Screw 8-32 |
| 918 | WB1K5071 GE Oven Plastic Rivet |
| 924 | GEN WB01K5146 |
| 927 | WB1X119D GE Oven Range Washer |
| 939 | GEN WB01K5126 |
| 977 | WB2X8454 GE Oven Nut |
| 993 | GEN WB01K5141 |
| 999 | GEN WB18K5356 |
| 999 | GEN 31-10119 |
| 999 | GEN 49-8443 |
| 999 | GEN WB18K5217 |
| 999 | GEN WB18K5532 |
| 999 | GEN WB18K5210 |
| 999 | GEN 31-13191 |
| 999 | GEN 49-8504 |