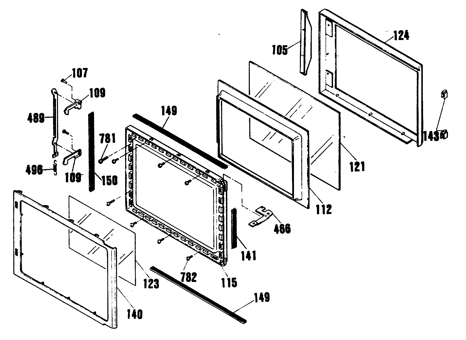
JKP76GP1 0admin2025-04-26T13:14:00+00:00JKP76GP1 0 ProductsPositionProduct105GEN WB15K5033107GEN WB02X7559109GEN WB15K5037109GEN WB15K5038112GEN WB55K5017112GEN WB55K5028115LINER & CHOKE ASM.121DOOR SCREEN-M/W121DR GLASS W/REFLECTOR-UP123OVEN DOOR GLASS123GEN WB55K5030124OV DR INNER GLASS124GEN WB07X6925140GEN WB55X5326140FRAME W/REFLECTOR ASM-UP141DOOR SASH RUBBER143DOOR SASH LEFT M/W149GEN WB02X7642150GEN WB02X7643405CNT PNL TOP TRIM-BLK466GEN WB10X5179466GEN WB10X5184489GEN WB10X5186489GEN WB15K5039496GEN WB06K5019496GEN WB09K5015753GEN WB01K5086775GEN WB01K5090778GEN WB01K5092781GEN WB01K5095782GEN WB01K5096785GEN WB01K5099787GEN WB01X5613789GEN WB01K5102806SCREW-BRT. NI.833WB1X1131 GE Screw 6-32855GEN WB01X1295999LEAD WIRE